Качественные детали и логистика
Оригинальные и аналоговые запчасти с доставкой по России, Казахстану и Беларуси
©2022 PartSell ООО "Система" ИНН 2463123282 ОГРН 1212400004838
Центральный офис: г. Красноярск, Академика Киренского, д.87, пом.4
Телефон: 8 (800) 777-65-74 Email: zakaz@partsell.ru
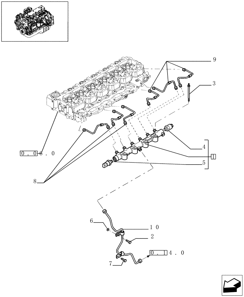
(0.14.9[01]) - INJECTION EQUIPMENT - PIPING (504103212)
№
Артикул
Название
Примечание
Количество
1
2854540
MANIFOLD
- ASSY
1шт.
2
4899020
FLANGE BOLT,Hex, M8 x 1.25 x 20mm
3
2853537
BOLT,Hex Flange Head Cap M8 x 1.25 x 125mm
4шт.
4
2854543
VALVE PRESSURE RELIE
5
2854542
SENSOR,FUEL PRESSURE TO THE MANIFOLD
6
2852434
SPACER
7
4896884
BOLT,Flng, M8 x 1.25 x 16mm, Cl 10.9
8
2854549
INJECTION PIPE
3шт.
9
2852784
PIPE
10
2854552
Выбрано товаров: 0