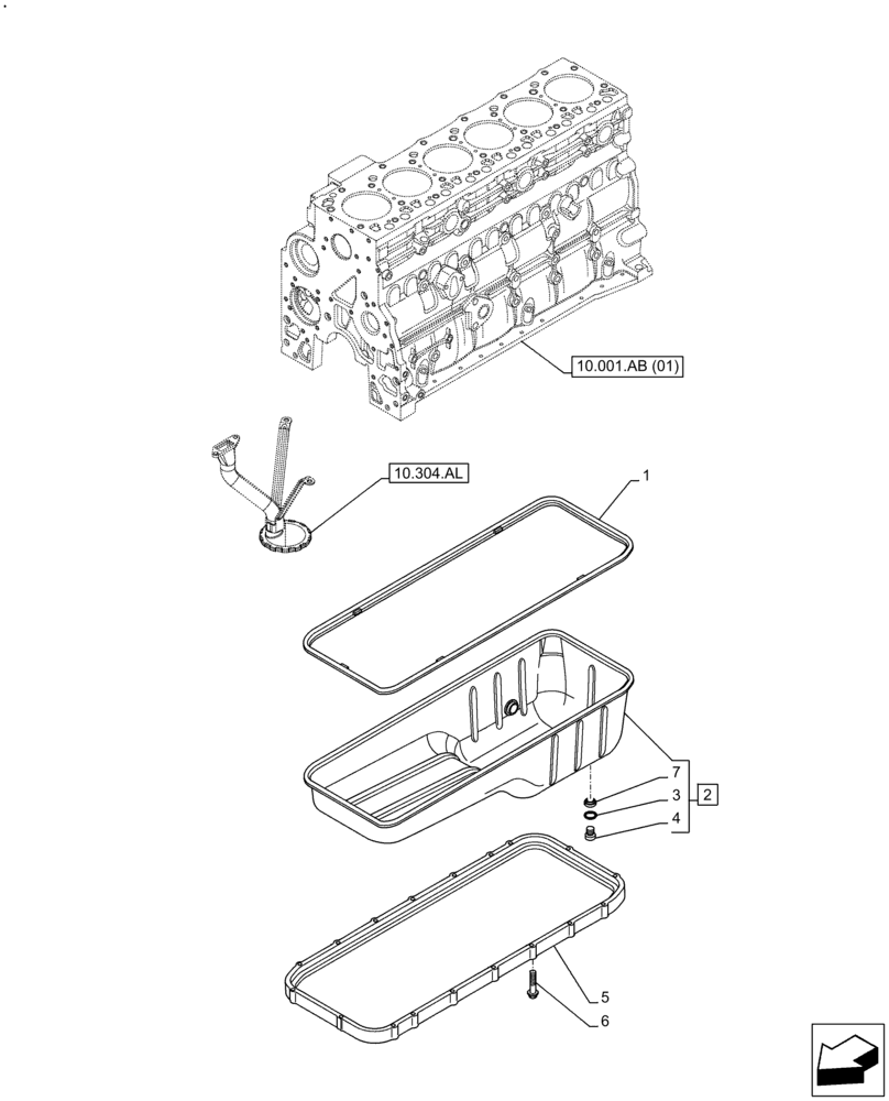
Запчасти Case IH F4HE9687M J106 (10.102.AP) - ENGINE OIL PAN (10) - ENGINE

Схема запчастей Case IH F4HE9687M J106 - (10.102.AP) - ENGINE OIL PAN (10) - ENGINE
10.304.al
2
10.001.ab (01)
7
4
6
5
1
3
FIT
1:1
100%

Артикул

Название

Примечание

Количество

1

47590191

GASKET

1шт.

2

4898036

ENGINE OIL PAN

Assy, Incl 3, 4, 7

1шт.

3

2830546

SEALING WASHER

2шт.

4

4895577

PLUG

2шт.

5

4897858

SPACER

1шт.

6

4899091

SCREW,Hex Flange Cap, M8 x 1.25 x 40.00mm

18шт.

7

4899078

SCREW,Hex Flg, M8 x 1.25 x 45

2шт.

Выбрано товаров: 0