Качественные детали и логистика
Оригинальные и аналоговые запчасти с доставкой по России, Казахстану и Беларуси
©2022 PartSell ООО "Система" ИНН 2463123282 ОГРН 1212400004838
Центральный офис: г. Красноярск, Академика Киренского, д.87, пом.4
Телефон: 8 (800) 777-65-74 Email: zakaz@partsell.ru
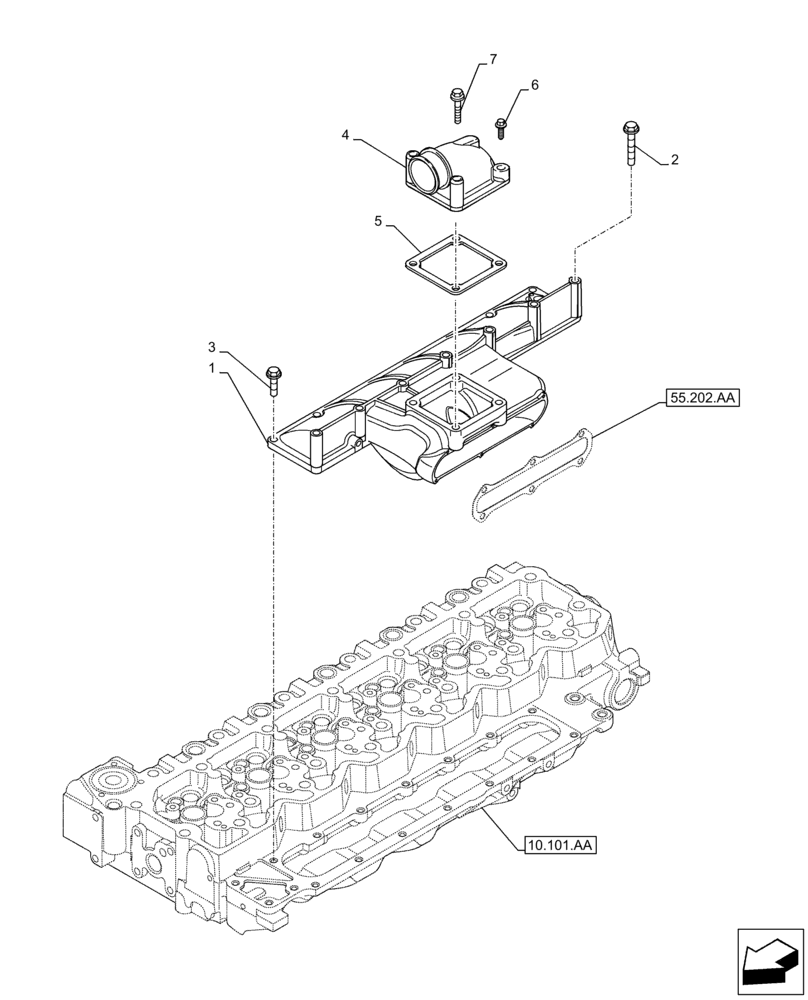
(10.254.AM) - AIR INTAKE, MANIFOLD
№
Артикул
Название
Примечание
Количество
1
2854534
INLET MANIFOLD
1шт.
2
4895432
SCREW,M8 x 1.25 x 70mm
3шт.
3
4899039
BOLT,Flng, M8 x 1.25 x 25mm, Cl 10.9
7шт.
4
2852040
ELBOW
5
4899921
GASKET,1.2mm Thk
6
2852295
SCREW,Hex, M8 x 1.25 x 40mm
2шт.
7
2852267
FLANGE BOLT,Hex, M8 x 1.25 x 90mm
Выбрано товаров: 0