Запчасти Case IH F4HE9687S J106 (10.101.AA) - CYLINDER HEAD (10) - ENGINE

Схема запчастей Case IH F4HE9687S J106 - (10.101.AA) - CYLINDER HEAD (10) - ENGINE
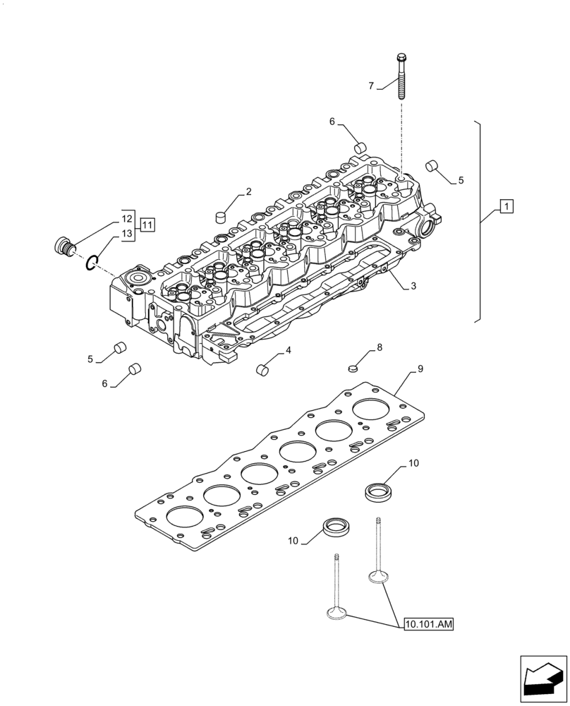
13
12
5
9
5
3
10
2
8
1
7
11
6
10.101.am
4
10
6
FIT
1:1
100%

Артикул

Название

Примечание

Количество

1

2831274

CYLINDER HEAD,6 Cylinders

ASSY, Incl 2 - 6

1шт.

1

2831274R

REMAN-CYLINDER HEAD

1шт.

1

2831274C

CORE-CYLINDER HEAD

Return Number

1шт.

2

4895089

PLUG,0.886" L

11шт.

3

2831279

CYLINDER HEAD,6 Cylinders

Alternative, Incl in 1

1шт.

3

2831278

CYLINDER HEAD,6 Cylinders

Alternative, Incl in 1

1шт.

4

4895407

EXPANSION PLUG,38.28mm OD

2шт.

5

4895085

EXPANSION PLUG,25.74mm

13шт.

6

4895406

EXPANSION PLUG,9.8mm OD

7шт.

7

4891024

BOLT,Flng, M12 x 1.75 x 130mm

12шт.

7

4891025

SCREW,Flng, M12 x 1.75 x 150mm

14шт.

8

4893036

PIPE PLUG,3/4"-14 NPTF

Alternative

1шт.

8

4895082

O-RING,19.3mm ID x 2.2mm Width

Alternative

1шт.

9

2830705

CYLINDER HEAD GASKET,1.15mm Thk

1шт.

9

2830704

CYLINDER HEAD GASKET,1.25mm Thk

1шт.

10

4897578

VALVE SEAT,28mm ID x 34.9mm OD x 5.75mm L

Alternative for pn 2831278

12шт.

10

4897106

VALVE SEAT,28mm ID x 34.9mm OD x 5.75mm L

Alternative for pn 2831278

12шт.

10

4893244

VALVE SEAT,28.42mm ID x 34.9mm OD x 5.75mm L

Alternative for pn 2831279

24шт.

11

4895080

HEX SOCKET PLUG,M22 x 1.5

assy, Incl 12, 13

1шт.

12

4895081

PLUG,M22 x 1.5 x 16.5mm L

Plug, Incl in 11

1шт.

13

4895082

O-RING,19.3mm ID x 2.2mm Width

1шт.

Выбрано товаров: 21