Запчасти Case IH F4HFE6136 B003 (10.101.AA) - CYLINDER HEAD (10) - ENGINE

Схема запчастей Case IH F4HFE6136 B003 - (10.101.AA) - CYLINDER HEAD (10) - ENGINE
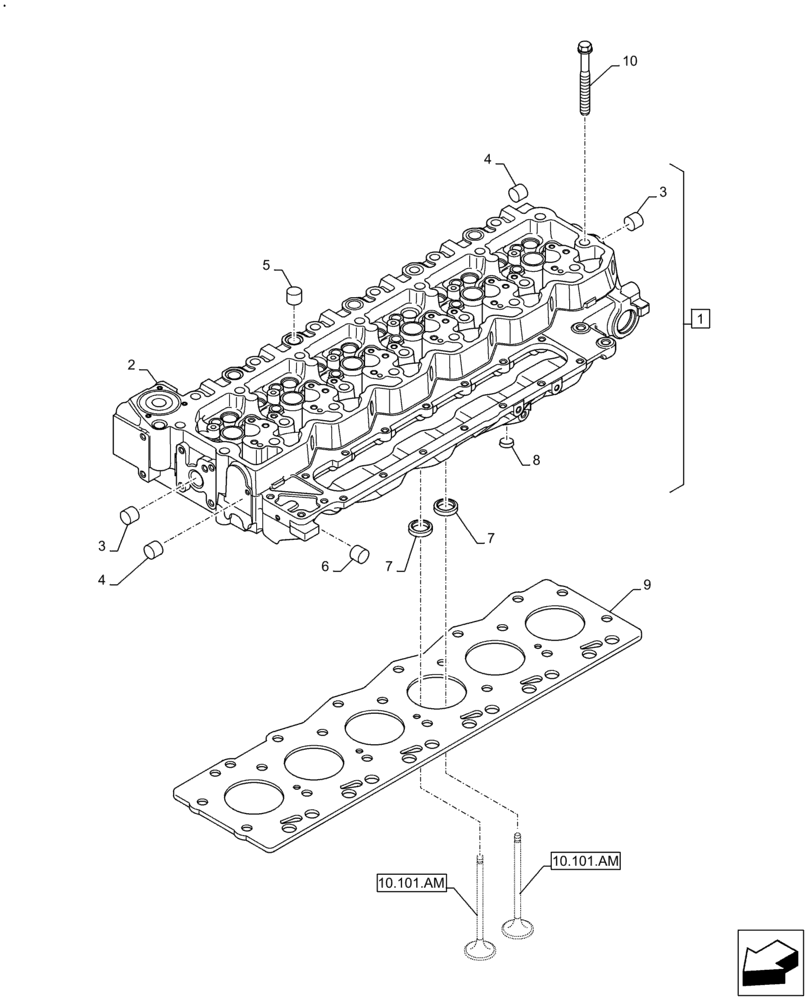
8
10.101.am
7
9
3
4
1
3
10
5
7
4
2
10.101.am
6
FIT
1:1
100%

Артикул

Название

Примечание

Количество

1

2831274

CYLINDER HEAD,6 Cylinders

ASSY, Incl 2 - 8

1шт.

2

2831279

CYLINDER HEAD,6 Cylinders

1шт.

3

4895085

EXPANSION PLUG,25.74mm

13шт.

4

4895406

EXPANSION PLUG,9.8mm OD

7шт.

5

4895089

PLUG,0.886" L

11шт.

6

4895407

EXPANSION PLUG,38.28mm OD

2шт.

7

4897578

VALVE SEAT,28mm ID x 34.9mm OD x 5.75mm L

12шт.

7

4897106

VALVE SEAT,28mm ID x 34.9mm OD x 5.75mm L

12шт.

8

4893036

PIPE PLUG,3/4"-14 NPTF

1шт.

9

47536485

CYLINDER HEAD GASKET,1.15mm Thk

1.15 mm

1шт.

9

47536495

CYLINDER HEAD GASKET,1.25mm Thk

1.25 mm

1шт.

10

4891025

SCREW,Flng, M12 x 1.75 x 150mm

M12 x 150

14шт.

Выбрано товаров: 0