Запчасти Case IH F4HFE613C B004 (10.001.AB) - CRANKCASE (10) - ENGINE

Схема запчастей Case IH F4HFE613C B004 - (10.001.AB) - CRANKCASE (10) - ENGINE
14
8
9
17
4
11
1
3
13
6
19
10.106.aa
7
10.106.ao (01)
2
12
17
3
16
20
21
22
5
23
10
18
15
FIT
1:1
100%

Артикул

Название

Примечание

Количество

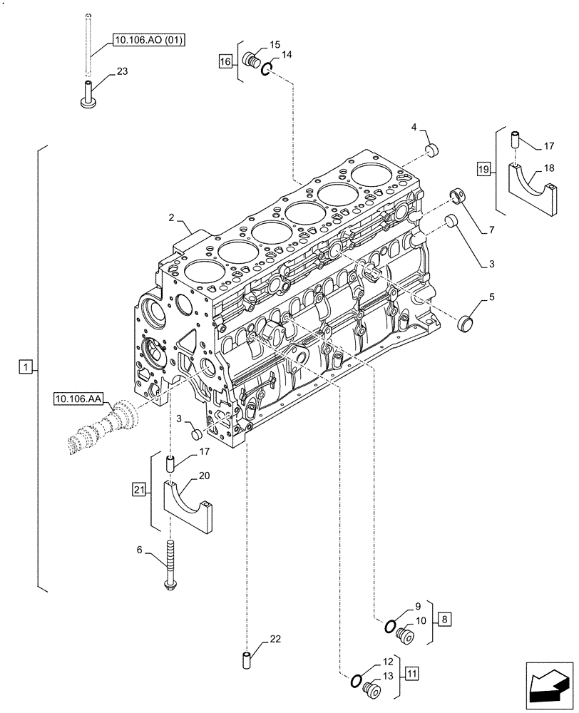
1

47596947

CYLINDER BLOCK

ASSY, Incl 2-7, 17-21

1шт.

2

47541311

CYLINDER BLOCK

Crankcase, Incl in 1

1шт.

3

4895039

EXPANSION PLUG,M17.73

3шт.

4

4895038

EXPANSION PLUG,M58.06

6шт.

5

4895228

EXPANSION PLUG,35.23mm x 7.94mm

3шт.

6

4891353

SCREW,Flg Hd, M12 x 1.5 x 120

M12 x 1.5 x 120

14шт.

7

4895040

BUSHING,54.39mm ID x 59.39mm OD x 25.4mm L

1шт.

8

4895605

HEX SOCKET PLUG,M14 x 1.5

ASSY, Incl 9,10

2шт.

9

NSS

NOT SOLD SEPARAT

O-Ring, Incl in 8

1шт.

10

4899115

O-RING,2.2mm Thk x 11.3mm ID

ID = 11.3 x 2.2

1шт.

11

4899009

PLUG,M10 x1

ASSY, Incl 12, 13

2шт.

12

4899072

O-RING,1.6mm Thk x 8.1mm ID

ID = 8.1 x 1.6

1шт.

13

NSS

NOT SOLD SEPARAT

Plug, Incl in 11

1шт.

14

4895393

O-RING,2.2mm Thk x 15.3mm ID

ID = 15.3 x 2.2

1шт.

15

4895394

HEX SOCKET PLUG,M18 x 1.5

M18 x 1.5

1шт.

16

4895392

HEX SOCKET PLUG,M18 x 1.5

ASSY, Incl 14, 15

1шт.

17

4899026

DOWEL,M18 x 10

14шт.

18

47607064

SUPPORT

1шт.

19

47607066

SUPPORT

ASSY, Incl 17, 18

1шт.

20

NSS

NOT SOLD SEPARAT

BEARING CAP, Incl 19

2шт.

21

47607063

SUPPORT

ASSY, Incl 17, 20

6шт.

22

4895049

DOWEL,M16.05 x 10

2шт.

23

4891226

TAPPET

12шт.

Выбрано товаров: 23