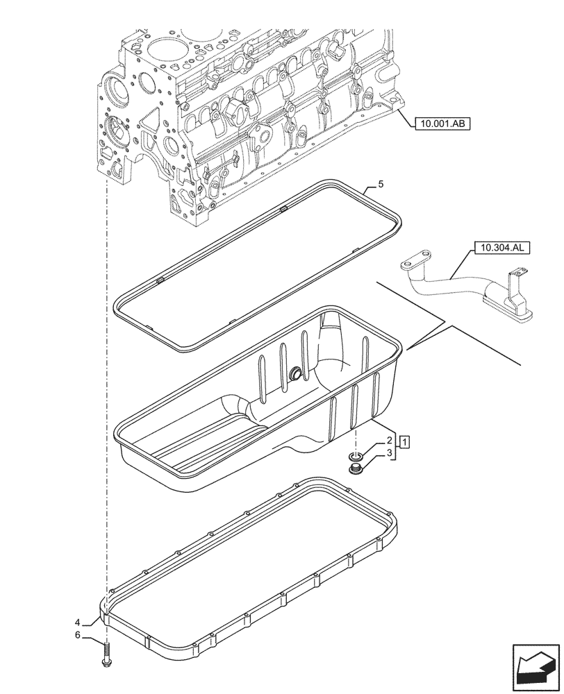
Запчасти Case IH F4HFE613F B004 (10.102.AP) - ENGINE OIL PAN (10) - ENGINE

Схема запчастей Case IH F4HFE613F B004 - (10.102.AP) - ENGINE OIL PAN (10) - ENGINE
10.001.ab
5
1
2
6
3
4
10.304.al
FIT
1:1
100%

Артикул

Название

Примечание

Количество

1

2859324

ENGINE OIL PAN

ASSY, Incl 2, 3

1шт.

2

NSS

NOT SOLD SEPARAT

Washer, Incl in 1

2шт.

3

NSS

NOT SOLD SEPARAT

Plug, Incl in 1

2шт.

4

4897858

SPACER

1шт.

5

47590191

GASKET

1шт.

6

4899091

SCREW,Hex Flange Cap, M8 x 1.25 x 40.00mm

14шт.

Выбрано товаров: 6