Запчасти Case IH F5AE5484C A001 (0.04.2) - OIL SUMP & RELATED PARTS (10) - ENGINE

Схема запчастей Case IH F5AE5484C A001 - (0.04.2) - OIL SUMP & RELATED PARTS (10) - ENGINE
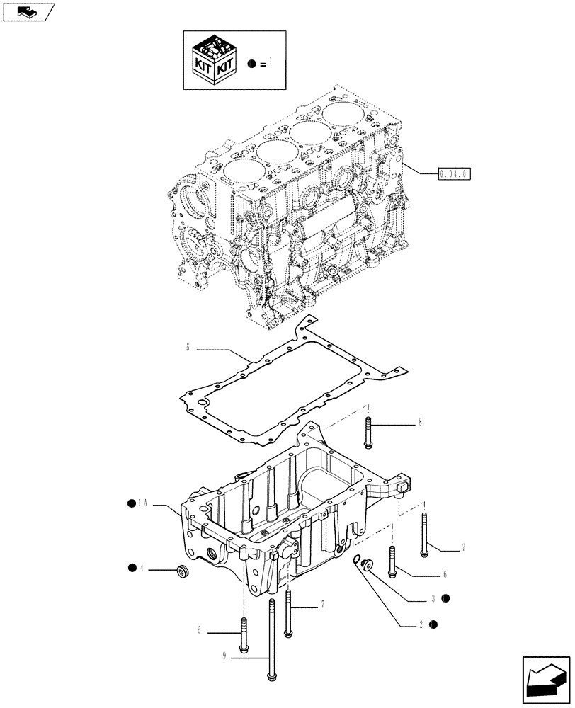
9
1
4
1
1
home
2
1
1
7
1a
6
5
3
0.04.0
6
7
8
1
FIT
1:1
100%

Артикул

Название

Примечание

Количество

1

504378692

ASSY, Contains Ref.1A, 2, 3, 4

ENGINE OIL PAN

1шт.

1a

NSS

NOT SOLD SEPARAT

1шт.

2

5135740

O-RING,0.924" ID x 1.13" OD x 0.103"

2шт.

3

4894139

PLUG,Hex Soc, M22 x 1.5

2шт.

4

16995111

PLUG,M35 x 1.5

M35 x 1,5

1шт.

5

504164360

GASKET

1шт.

6

16676534

BOLT,M10 x 55mm

M10 x 55

8шт.

7

16677235

BOLT,M10 x 110mm

M10 x 110

4шт.

8

16676934

SCREW,M10 x 1.5 x 80mm

M10 x 1,5 x 80

2шт.

9

16599434

BOLT,Hex, M10 x 180mm, Cl 10.9

M10 x 180

2шт.

9

2852286

BOLT,Flng, M10 x 1.5 x 130mm

6шт.

Выбрано товаров: 11