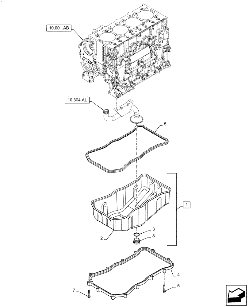
Запчасти Case IH F5CE5454B A005 (10.102.AP) - OIL SUMP (10) - ENGINE

Схема запчастей Case IH F5CE5454B A005 - (10.102.AP) - OIL SUMP (10) - ENGINE
10.304.al
7
4
5
2
10.001.ab
3
1
6
8
FIT
1:1
100%

Артикул

Название

Примечание

Количество

1

504179445

ENGINE OIL PAN

Incl 2, 3, 8

1шт.

2

NSS

NOT SOLD SEPARAT

Pan, Incl in 1

1шт.

3

5135740

O-RING,0.924" ID x 1.13" OD x 0.103"

1шт.

4

504179442

SPACER

1шт.

5

504179443

OIL PAN GASKET SET

1шт.

6

16586625

BOLT,M8 x 35mm

11шт.

7

504049517

SCREW

M10 x 1,5 x 90

2шт.

8

4894139

PLUG,Hex Soc, M22 x 1.5

1шт.

Выбрано товаров: 8