Запчасти Case IH F5CE5454B A005 (10.250.AC) - TURBOCHARGER (10) - ENGINE

Схема запчастей Case IH F5CE5454B A005 - (10.250.AC) - TURBOCHARGER (10) - ENGINE
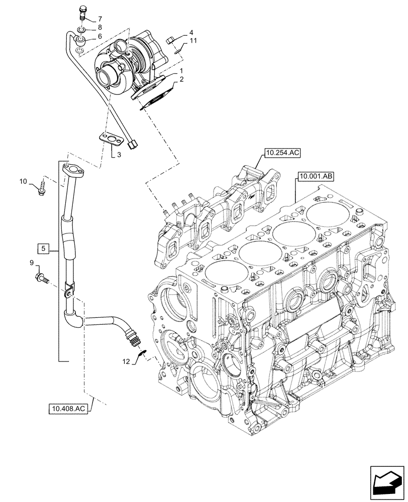
1
8
4
6
10
10.408.ac
12
3
9
7
5
2
10.254.ac
11
10.001.ab
FIT
1:1
100%

Артикул

Название

Примечание

Количество

1

504242763

TURBOCHARGER

1шт.

1

504242763R

REMAN-TURBOCHARGER

SR220, SV250, C232, L225 ALL (4/11-), F5CE5454B*A005 ALL ENGINE 504387947 - 84230116

1шт.

1

504242763C

CORE-TURBOCHARGER

Return Number

1шт.

2

4899343

GASKET,0.45mm Thk

Exhaust Manifold

1шт.

3

500370706

GASKET

1шт.

4

500322677

NUT,M8

4шт.

5

504164226

PIPE

Oil, Outlet, Incl 12

1шт.

6

504164224

PIPE

Oil, Inlet

1шт.

7

4864080

BANJO BOLT,M10 x 1.25

1шт.

8

17750480

SEAL,12.2mm ID x 17.8mm OD x 1.5mm Thk

2шт.

9

16586225

BOLT,M8 x 16mm

1шт.

10

18137825

BOLT,Hex, M6 x 16mm

2шт.

11

13550304

WASHER,8mm ID x 18mm OD x 2mm Thk

4шт.

12

14457181

O-RING,0.103" Thk x 0.549" ID, -113, Cl 5, 75 Duro

1шт.

Выбрано товаров: 14