Запчасти Case IH F5DFL413A A001 (10.102.01[b]) - OIL SUMP & RELATED PARTS (504379028) (10) - ENGINE

Схема запчастей Case IH F5DFL413A A001 - (10.102.01[b]) - OIL SUMP & RELATED PARTS (504379028) (10) - ENGINE
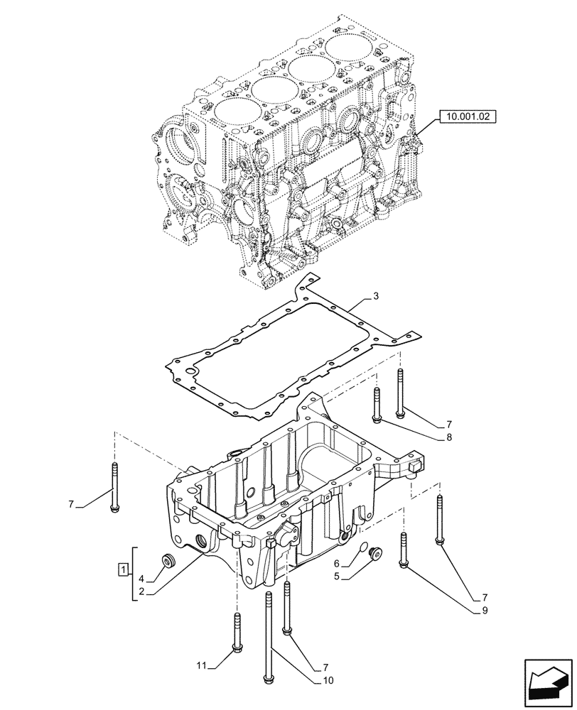
10.001.02
10
1
4
6
7
7
11
7
9
2
7
5
3
8
FIT
1:1
100%

Артикул

Название

Примечание

Количество

1

5801763150

SUMP

ASSY, Incl 2, 4, 5, 6

1шт.

2

NSS

NOT SOLD SEPARAT

Oil Sump, Incl in 1

1шт.

3

504164360

GASKET

1шт.

4

16995111

PLUG,M35 x 1.5

M35 x 1,5

1шт.

5

4894139

PLUG,Hex Soc, M22 x 1.5

2шт.

6

5135740

O-RING,0.924" ID x 1.13" OD x 0.103"

2шт.

6

17282280

GASKET

2шт.

7

16676934

SCREW,M10 x 1.5 x 80mm

4шт.

8

16599125

BOLT,Hex, M10 x 130mm, Cl 8.8

4шт.

9

16677235

BOLT,M10 x 110mm

6шт.

9

16599434

BOLT,Hex, M10 x 180mm, Cl 10.9

6шт.

10

16598934

SCREW,Hex, M10 x 110mm, Cl 10.9

4шт.

11

16676534

BOLT,M10 x 55mm

4шт.

Выбрано товаров: 13