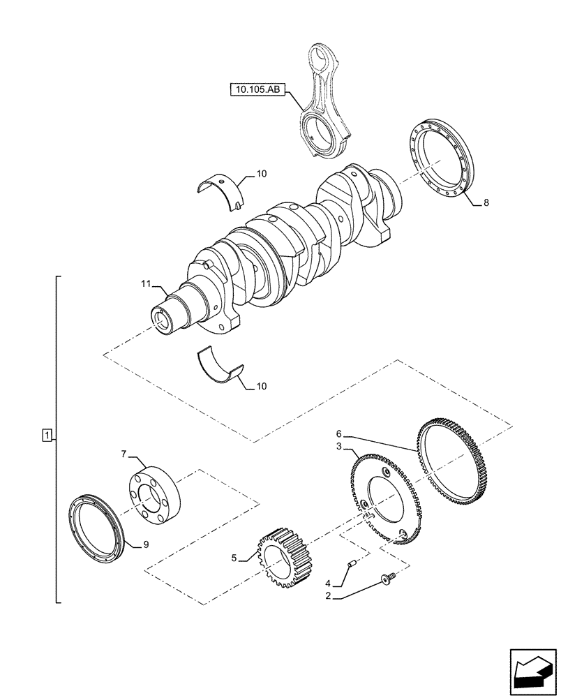
Запчасти Case IH F5GFL413A C005 (10.103.AA) - CRANKSHAFT ASSEMBLY (10) - ENGINE

Схема запчастей Case IH F5GFL413A C005 - (10.103.AA) - CRANKSHAFT ASSEMBLY (10) - ENGINE
10.105.ab
2
8
7
11
10
5
4
9
6
3
10
1
FIT
1:1
100%

Артикул

Название

Примечание

Количество

1

5801723069

CRANKSHAFT

ASSY, Incl 2 - 7, 11

1шт.

2

500374310

SCREW,Cyl Head, M6 x 1

3шт.

3

504381409

GEAR

Crankshaft

1шт.

4

504006981

COTTER PIN,5.5mm OD

Crankshaft

1шт.

5

NSS

NOT SOLD SEPARAT

Gear, Incl in 1

1шт.

6

NSS

NOT SOLD SEPARAT

Gear, Incl in 1

1шт.

7

NSS

NOT SOLD SEPARAT

Gear, Incl in 1

1шт.

8

504014232

SEAL

Crankshaft

1шт.

9

5801702899

SHAFT SEAL

Crankshaft

1шт.

10

8097862

SET OF STD MAIN BRGS

Crankshaft

1шт.

10

8097863

SET OF MAIN BRGS-.25,Main, -0.254

Crankshaft

1шт.

10

8097864

SET OF MAIN BRGS -

Crankshaft

1шт.

11

NSS

NOT SOLD SEPARAT

Crankshaft, Incl in 1

1шт.

Выбрано товаров: 0