Запчасти Case IH A8000 (0.32.6) - TEMPERATURE CONTROL (THERMOSTAT) - (504150920-504072032) (10) - ENGINE

Схема запчастей Case IH A8000 - (0.32.6) - TEMPERATURE CONTROL (THERMOSTAT) - (504150920-504072032) (10) - ENGINE
0.32.4
2
3
1
5
0.06.0
4
home
FIT
1:1
100%

Артикул

Название

Примечание

Количество

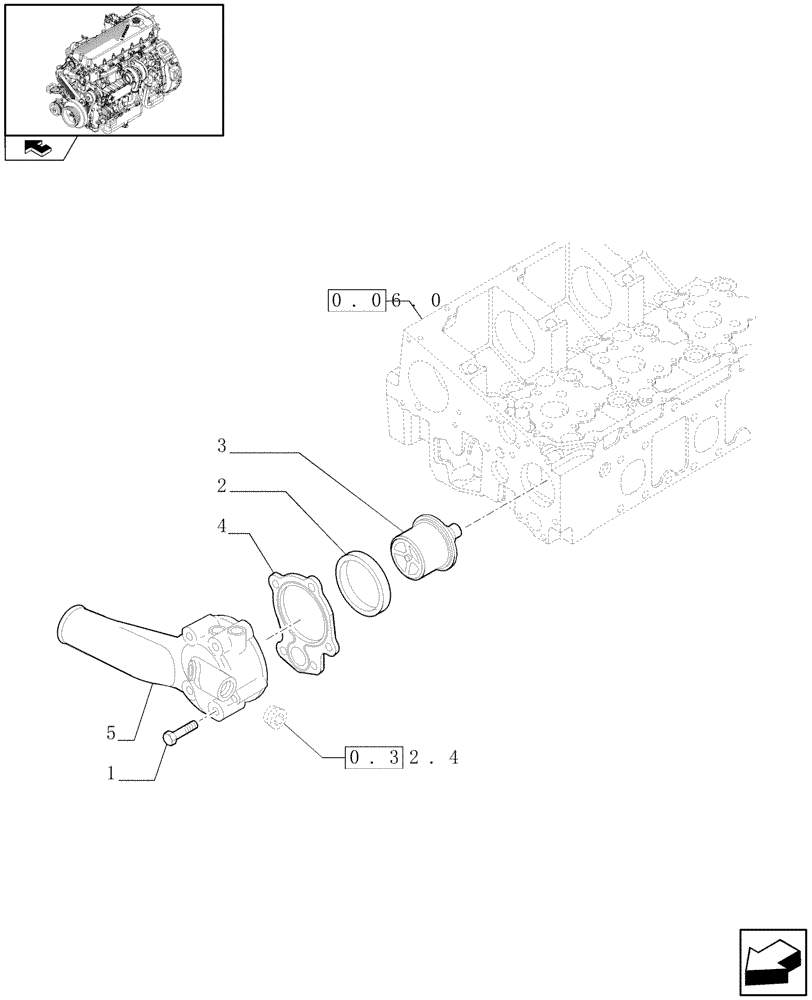
1

16592525

BOLT,M8 x 1.25 x 70mm

M6 x 70

5шт.

2

98451661

SEAL

D = 57,7 x 67,5

1шт.

3

504096443

THERMOSTAT

1шт.

4

99443426

GASKET

1шт.

5

504150921

BODY

1шт.

Выбрано товаров: 5