Запчасти Case IH ISM N844 (10.242.03) - INJECTION PUMP (10) - ENGINE

Схема запчастей Case IH ISM N844 - (10.242.03) - INJECTION PUMP (10) - ENGINE
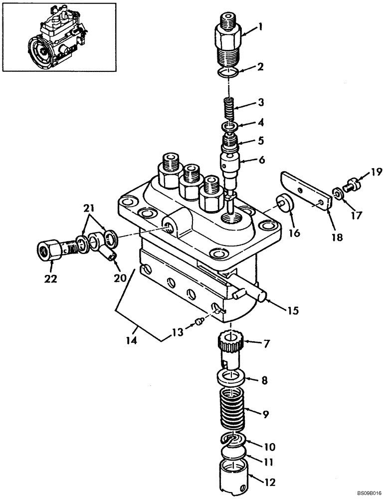
3
11
5
17
20
1
4
22
15
7
10
9
18
16
13
21
6
19
2
8
12
14
FIT
1:1
100%

Артикул

Название

Примечание

Количество

SBA131017801

FUEL INJECTION PUMP

1шт.

SBA131017801R

REMAN-INJECTION PUMP

L213, SR130 all (4/11-)

1шт.

SBA131017801C

CORE-INJECTION PUMP

Return Number

1шт.

SBA131011101

Fuel Injection Pump

1шт.

1

SBA131196060

HOLDER

4шт.

1

SBA131196200

HOLDER

4шт.

2

SBA052109078

O-RING,2.4mm Thk x 9.8mm ID

4шт.

2

SBA131227310

O-RING

4шт.

3

SBA131176450

SPRING

4шт.

3

SBA131176510

SPRING

4шт.

4

SBA131186110

SEAL

4шт.

5

SBA131156150

RESTRICTOR VALVE

Fuel

4шт.

5

SBA131156260

HYDRAULIC VALVE

Fuel

4шт.

6

NSS

NOT SOLD SEPARAT

Element

4шт.

7

NSS

NOT SOLD SEPARAT

Sleeve

4шт.

8

NSS

NOT SOLD SEPARAT

Seat, Spring

4шт.

9

NSS

NOT SOLD SEPARAT

Spring

4шт.

10

NSS

NOT SOLD SEPARAT

Seat, Spring

4шт.

11

NSS

NOT SOLD SEPARAT

Plate

1шт.

12

NSS

NOT SOLD SEPARAT

Tappet

4шт.

13

NSS

NOT SOLD SEPARAT

Pin

4шт.

14

NSS

NOT SOLD SEPARAT

Pin

2шт.

15

NSS

NOT SOLD SEPARAT

Rack

1шт.

16

NSS

NOT SOLD SEPARAT

Pin

3шт.

17

NSS

NOT SOLD SEPARAT

Washer, Spring

3шт.

18

NSS

NOT SOLD SEPARAT

Cover

1шт.

19

NSS

NOT SOLD SEPARAT

Screw

3шт.

20

SBA131246010

FITTING

Banjo

1шт.

21

SBA131296255

SEAL

2шт.

22

SBA131246140

FITTING

Eye

1шт.

22

SBA131246170

BOLT

Eye

1шт.

Выбрано товаров: 31