Запчасти Case IH ISM N844 (10.001.02[01]) - CYLINDER BLOCK (10) - ENGINE

Схема запчастей Case IH ISM N844 - (10.001.02[01]) - CYLINDER BLOCK (10) - ENGINE
21
2
25
5
9
30
3
17
3
14
22
23
7
24
28
19
20
29
18
3
15
16
23a
11
13
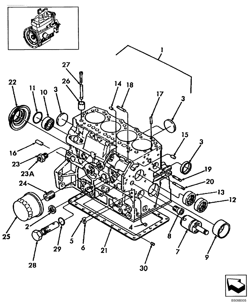
1
12
27
6
10
26
8
FIT
1:1
100%

Артикул

Название

Примечание

Количество

1

See Figure 10.001.01 [01] Ref 2, SBA133732

1шт.

2

SBA064200025

PLUG

2шт.

3

SBA064210040

CAP

5шт.

4

SBA198466010

PLUG

Blank 8.4mm

3шт.

5

SBA198466020

PLUG

Blank 10.4mm

4шт.

6

SBA198466030

PLUG

Blank 6.5 x 7mm

4шт.

7

SBA165296220

SHAFT

Idler Gear

1шт.

8

SBA198517090

BUSHING

1шт.

9

SBA198517222

BUSHING

Std

1шт.

9

SBA198517226

BUSHING

.1" (.25mm), U/S

1шт.

9

SBA198517229

BUSHING

.2" (.5mm), U/S

1шт.

10

SBA040106203

BALL BEARING,17mm ID x 40mm OD x 12mm W

1шт.

11

SBA064100045

PLUG

Expansion

1шт.

12

SBA042309018

NEEDLE BEARING

1шт.

13

SBA042309017

NEEDLE BEARING

1шт.

14

SBA030500612

DOWEL

2шт.

15

SBA030500616

DOWEL,M6 x 16

2шт.

16

SBA030501025

BALL STUD,M10 x 25 L

BALL PIN

2шт.

17

SBA030309005

PIN

Spring

2шт.

18

SBA012110820

STUD

3шт.

19

SBA012110635

STUD

1шт.

20

SBA012110660

STUD

1шт.

21

SBA110996860

GASKET

Oil Pan Gasket

1шт.

22

SBA198636170

SEAL

Rear Main

1шт.

23

SBA064500060

PLUG

Plug

1шт.

24

SBA140546020

ADAPTER

Joint

1шт.

25

84475542

ENGINE OIL FILTER

Main

1шт.

26

SBA120116100

TAPPET

8шт.

27

SBA120456250

PUSH ROD

8шт.

28

SBA140036220

VALVE PRESSURE RELIE

1шт.

29

SBA052109078

O-RING,2.4mm Thk x 9.8mm ID

1шт.

30

SBA064409006

PLUG,1/8" NPT

1шт.

Выбрано товаров: 32