Запчасти Case IH 4391 (2-06) - COOLANT RECOVERY SYSTEM (02) - ENGINE

Схема запчастей Case IH 4391 - (2-06) - COOLANT RECOVERY SYSTEM (02) - ENGINE
11
15
12
9
17
8
10
8
6
18
8
12
4
2
13
14
9
7
1
16
5
FIT
1:1
100%

Артикул

Название

Примечание

Количество

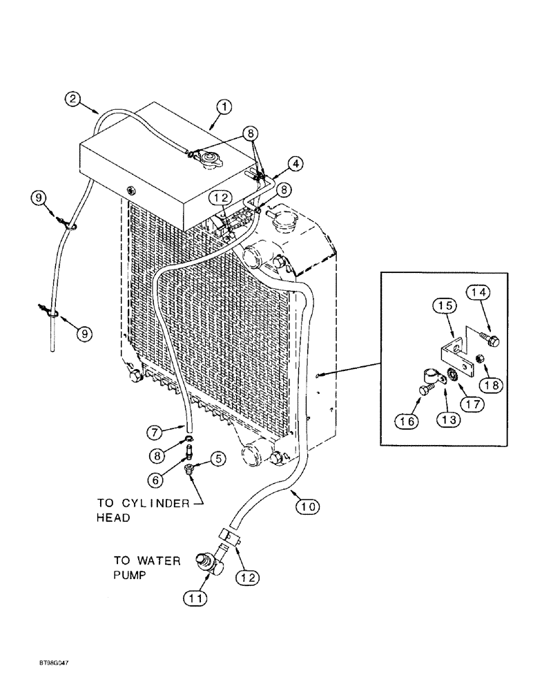
1

298029A3

TANK

- deaeration, see page 2-3 for mounting

1шт.

2

239383A1

HOSE,0.31" ID x 54.50"

Deaeration Overflow, See Below 0.31" ID x 54.50"

1шт.

4

303950A1

RADIATOR HOSE,7.90 mm ID x 76.20 mm, SAE J20R4

- Formed, Radiator overflow to Deaeration tank 7.90 mm ID x 76.20 mm, SAE J20R4

1шт.

5

444030

REDUCER,1/2"-14 NPTF x 1/8"-27 Fem NPTF

BUSHING - pipe reducing, 1/2 PT x 1/8 inch female PT, installed in right-hand front top of cylinder head

1шт.

6

241173A1

FITTING

ORIFICE - straight, 0.120 inch hole, 1/8 PT x 5/16 inch stem end

1шт.

7

322128A1

HOSE

- 635 mm (25 inch) long, cut from 194881A1 bulk hose, see below, deaeration tank to cylinder head

1шт.

8

J923527

CLAMP

- band

5шт.

9

L18337

CABLE TIE,9.95"-12.1" lg

STRAP - tie, 15 inch, use to hold radiator overflow hose to fan shroud mounting brackets at left-hand side

2шт.

10

322028A1

HOSE

- 19 (3/4) ID x 914 (36 inch) long, cut from 278703A1 bulk hose, see below, deaeration tank to water pump

1шт.

11

217-129

ELBOW,90 Degree Elbow, 3/4" Hose Barb x 1/2" Male NPTF

- 90 degree, 3/4 stem end x 1/2 inch PT, installed in side hole of water pump inlet at 2 o’clock position

1шт.

12

J918163

CLIP

CLAMP - spring type

2шт.

13

515-23254

CLAMP,1", Insul, 3/8" Bolt

P-type, Fasten to RH upper fan shroud mounting bracket 1", Insul, 3/8" Bolt

1шт.

14

844-8020

BOLT,Hvy Hex, M8 x 20mm, Cl 8.8

1шт.

15

242593A1

BRACKET

- support

1шт.

16

413-48

BOLT,Hex, 1/4" - 20 x 1/2", Gr 5

- hex, 1/4 NC x 1/2 inch

1шт.

17

493-11026

LOCK WASHER,Ext-Int Tooth, 1/4"

1шт.

18

425-104

NUT,1/4"-20, Cl 5

1шт.

L126767

HOSE,7.9mm ID x 2336mm L, SAE 30R6

1шт.

194881A1

HOSE,7.929mm ID x 305mm L, SAE 30R7

- bulk, 7620 mm (300 inch) long

1шт.

278703A1

HOSE,0.75" ID x 50' Bulk

0.75" ID x 50' Bulk

1шт.

Выбрано товаров: 0