Запчасти Case IH 4391T (2-18) - EXHAUST SYSTEM, 4391T AND 4391TA UNITS (02) - ENGINE

Схема запчастей Case IH 4391T - (2-18) - EXHAUST SYSTEM, 4391T AND 4391TA UNITS (02) - ENGINE
1
4
4
3
5
2
4
7
6
8
FIT
1:1
100%

Артикул

Название

Примечание

Количество

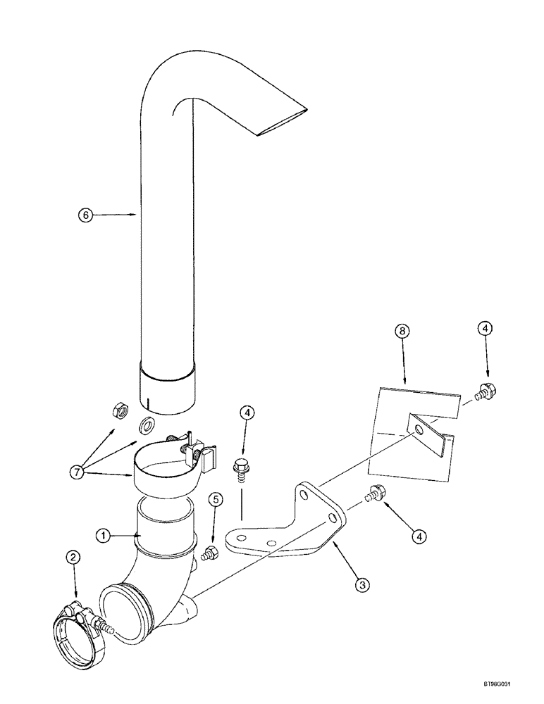
1

J910992

ELBOW

- turbocharger exhaust

1шт.

2

A170467

CLAMP,72mm ID

- includes hardware

1шт.

3

J931020

BRACE

BRACKET - support

1шт.

4

844-10025

BOLT,Hex, M10 x 25mm, Cl 8.8

- heavy hex flange, 10 - 1.5 x 25 mm

4шт.

5

217-86

PLUG,Hex Hd, 1/4"-18, Brass

- hex, 1/4 inch PT, brass

1шт.

6

115698A1

PIPE

- exhaust, curved, 3 inch ID

1шт.

7

190981A1

CLAMP,76.2mm ID

- band, includes hardware

1шт.

8

J934100

SHIELD

- heat

1шт.

Выбрано товаров: 8