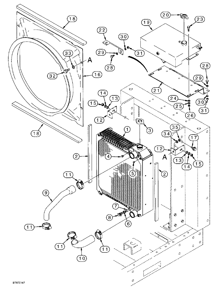
Запчасти Case IH 6591TA (2-02) - RADIATOR, DEAERATION TANK AND MOUNTING

Схема запчастей Case IH 6591TA - (2-02) - RADIATOR, DEAERATION TANK AND MOUNTING
2
11
9
29
14
2
11
4
28
14
13
28
10
13
1
29
3
17
32
35
24
20
7
34
31
23
21
26
5
12
19
33
15
22
6
25
30
18
8
30
11
31
18
16
12
11
15
FIT
1:1
100%

Артикул

Название

Примечание

Количество

1

135692A3

RADIATOR

ASSEMBLY - cooling system

1шт.

2

190561A2

SEAL

- adhesive back, 605 mm (23-3/4 inch) long, at sides of radiator between radiator and radiator support

2шт.

3

253858A1

PLUG

CAP - radiator, non-opening

1шт.

4

217-86

PLUG,Hex Hd, 1/4"-18, Brass

- hex, 1/4 inch PT

1шт.

5

86643151

PLUG,Hex Hd, 1/8"-27 NPTF

1шт.

6

277341A1

ADAPTER

- special, 3/4-16 O-ring boss x 1/4 inch PT

1шт.

7

237-6008

O-RING,0.087" Thk x 0.644" ID, -908, Cl 6, 90 Duro

8-1, 90 Duro, .644" ID x .087" Thk

1шт.

8

217-92

COCK

VALVE - drain, 1/4 inch PT

1шт.

9

248373A1

RADIATOR HOSE,43.40 mm ID, 56.20 mm ID x 314.00 mm, SAE J20, SAE 20R4 CLASS D1

43.40 mm ID, 56.20 mm ID x 314.00 mm, SAE J20, SAE 20R4 Class D-1, Upper

1шт.

10

248374A1

RADIATOR HOSE,56.20 mm ID, 56.40 mm ID x 243.00 mm, SAE J20, SAE 20R4 CLASS D1

56.20 mm ID, 56.40 mm ID x 243.00 mm, SAE J20, SAE 20R4 Class D-1, Lower

1шт.

11

J918521

HOSE CLAMP,59mm - 83mm

CLAMP - adj, 1-13/16 - 2-3/4 inch dia

4шт.

12

277896A1

BRACKET

- mounting, fan shroud

4шт.

13

496-11034

WASHER,11/32" x 11/16" x 1/16", HDN

- flat, 11/32 x 11/16 x 1/16 inch, hardened

4шт.

14

492-11031

LOCK WASHER,5/16"

WASHER, LOCK, 5/16"

4шт.

15

425-105

NUT,5/16"-18, G5

- hex, 5/16 inch NC, Fastens fan shroud mounting bracket to radiator support

4шт.

16

187089A2

DEFLECTOR

SHROUD - fan

1шт.

17

844-8020

BOLT,Hvy Hex, M8 x 20mm, Cl 8.8

Radiator Support to Radiator Hex Flg, M8 x 20, 8.8

2шт.

18

190562A2

SEALING STRIP,30mm W x 546mm L x 12.7mm Thk

- adhesive back, 546 mm (21-1/2 inch) long, between fan shroud and radiator at top and bottom

2шт.

19

231383A1

TANK

- deaeration

1шт.

20

A170241

RADIATOR CAP

CAP, RADIATOR, Filler, 15 psi, Deaeration tank

1шт.

21

236017A1

BRACKET

- support, deaeration tank

1шт.

22

279618A1

BRACKET

BRACE - support, deaeration tank

1шт.

23

413-620

BOLT,Hex, 3/8" - 16 x 1-1/4", Gr 5

- hex, 3/8 NC x 1-1/4 inch, tank to tank support bracket and tank support brace

4шт.

24

496-21041

WASHER,13/32" x 13/16" x .089", HDN

- flat, 13/32 x 13/16 x 3/32", hardened

4шт.

25

492-11038

LOCK WASHER,3/8"

4шт.

26

425-106

NUT,3/8"-16, Cl 5

4шт.

28

413-616

BOLT,Hex, 3/8" - 16 x 1", Gr 5

- hex, 3/8 NC x 1 inch (8) for tank support bracket to radiator support and (1) for tank support brace to radiator support

9шт.

29

495-11041

WASHER,0.406" ID x 0.812" OD x 0.065" W

(Flat, 13/32 x 13/16 x 1/16") 3/8", SAE

9шт.

30

492-11038

LOCK WASHER,3/8"

9шт.

31

425-106

NUT,3/8"-16, Cl 5

9шт.

32

413-516

BOLT,Hex, 5/16" - 18 x 1", Gr 5

- hex, 5/16 NC x 1 inch, fan shroud to fan shroud mounting bracket

4шт.

33

496-11034

WASHER,11/32" x 11/16" x 1/16", HDN

- flat, 11/32 x 11/16 x 1/16 inch, hardened

4шт.

34

492-11031

LOCK WASHER,5/16"

WASHER, LOCK, 5/16"

4шт.

35

425-105

NUT,5/16"-18, G5

- hex, 5/16 inch NC

4шт.

Выбрано товаров: 34