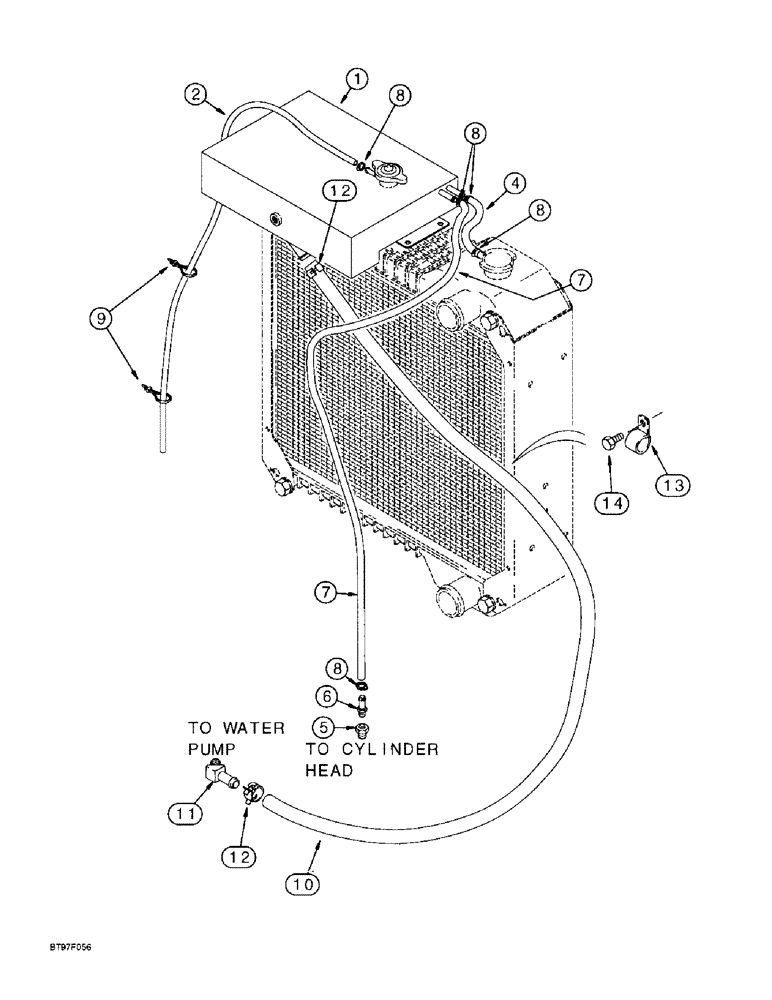
Запчасти Case IH 6591TA (2-04) - COOLANT RECOVERY SYSTEM

Схема запчастей Case IH 6591TA - (2-04) - COOLANT RECOVERY SYSTEM
6
8
7
2
7
8
1
12
10
14
9
4
8
5
11
13
8
12
FIT
1:1
100%

Артикул

Название

Примечание

Количество

1

231383A1

TANK

- deaeration, see page 2-3 for mounting

1шт.

2

239383A1

HOSE,0.31" ID x 54.50"

Deaeration Overflow, See Below 0.31" ID x 54.50"

1шт.

4

277645A1

HOSE

- 267 mm (10-1/2 inch) long, cut from L126767 bulk hose, see below, radiator overflow to deaeration tank

1шт.

5

217-47

BUSHING,1/2" - 14 NPTF x 1/8" - 27 Fem NPTF

REDUCER - 1/2 PT x 1/8 inch female PT, installed in right-hand front top of cylinder head

1шт.

6

241173A1

FITTING

ORIFICE - straight, 0.120 inch hole, 1/8 PT x 5/16 inch stem end

1шт.

7

277644A1

HOSE

- 610 mm (24 inch) long, cut from L126767 bulk hose, see below, deaeration tank to cylinder head

1шт.

8

J923527

CLAMP

- band

5шт.

9

L18337

CABLE TIE,9.95"-12.1" lg

STRAP - tie, 15 inch, nylon

2шт.

10

277647A1

HOSE

- 19 (3/4) ID x 1016 mm (40 inch) long, cut from 278703A1 bulk hose, see below, deaeration tank to water pump

1шт.

11

217-145

ELBOW,45 Degree Elbow, 3/4" Hose Barb x 3/4" Male NPTF

- 45 degree, 3/4 stem end x 3/4 inch PT, installed in side hole of water pump inlet at 2 o'clock position

1шт.

12

J918163

CLIP

CLAMP - spring type

2шт.

13

515-23254

CLAMP,1", Insul, 3/8" Bolt

P-type, Fasten to RH upper fan shroud mounting bracket 1", Insul, 3/8" Bolt

1шт.

14

844-8025

BOLT,Hvy Hex, M8 x 25mm, Cl 8.8

1шт.

L126767

HOSE,7.9mm ID x 2336mm L, SAE 30R6

1шт.

278703A1

HOSE,0.75" ID x 50' Bulk

0.75" ID x 50' Bulk

1шт.

Выбрано товаров: 15