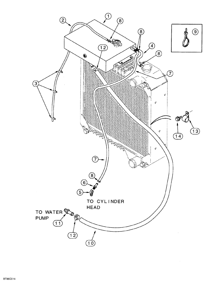
Запчасти Case IH 6831T (02-006) - COOLANT RECOVERY SYSTEM, MODEL 6831T WITHOUT AFTERCOOLER

Схема запчастей Case IH 6831T - (02-006) - COOLANT RECOVERY SYSTEM, MODEL 6831T WITHOUT AFTERCOOLER
6
3
5
7
12
8
13
7
8
14
2
4
10
8
1
9
11
8
12
FIT
1:1
100%

Артикул

Название

Примечание

Количество

1

231383A1

TANK

deaeration, see Figure 02-002 for mounting

1шт.

2

239383A1

HOSE,0.31" ID x 54.50"

Overflow

1шт.

Cut from P/N L126767 bulk hose

1шт.

3

515-23127

CLAMP,1/2", Insul, 3/8" Bolt

P-type, Overflow hose to radiator support

3шт.

4

240460A1

HOSE,7.75"

radiator overflow to deaeration tank

1шт.

Cut from P/N L126767 bulk hose

1шт.

5

217-15

ELBOW,45 Degree, 1/8"-27 NPTF, Fem x 1/8"-27 NPTF Male

ELBOW street, 1/8" PT x female PT, 45°

2шт.

6

241173A1

FITTING

ORIFICE straight, 0.120" hole, 1/8 PT x 5/16" stem end

1шт.

7

241242A1

HOSE,0.31" ID x 32.00"

deaeration tank to cylinder head

1шт.

Cut from P/N L126767 bulk hose

1шт.

8

J923527

CLAMP

band

5шт.

9

L18337

CABLE TIE,9.95"-12.1" lg

CABLE STRAP tie

3шт.

10

239470A1

HOSE,0.75" ID x 47.00"

deaeration tank to water pump

1шт.

11

217-160

FITTING,3/4" Hose Barb x 1/2" Male NPTF

ADAPTER straight, 3/4" stem end x 1/2" PT

1шт.

12

J918163

CLIP

CLAMP spring type

2шт.

13

515-23254

CLAMP,1", Insul, 3/8" Bolt

P-type

1шт.

14

844-8025

BOLT,Hvy Hex, M8 x 25mm, Cl 8.8

1шт.

L126767

HOSE,7.9mm ID x 2336mm L, SAE 30R6

1шт.

Used for Ref. 2, 4 and 7

1шт.

Выбрано товаров: 19