Запчасти Case IH 6831T (03-018) - THROTTLE CONTROL

Схема запчастей Case IH 6831T - (03-018) - THROTTLE CONTROL
5
4
1
3
7
2
6
1
9
8
12
10
11
8
FIT
1:1
100%

Артикул

Название

Примечание

Количество

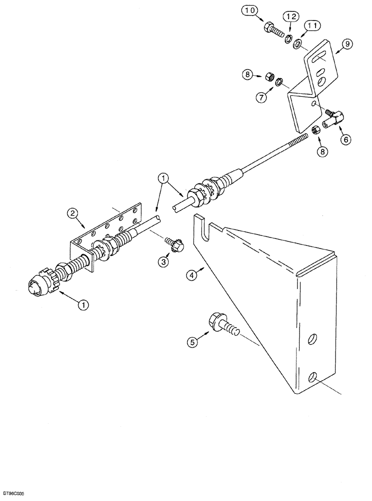
1

242517A1

CABLE

control, throttle

1шт.

2

102406A1

BRACKET

mounting, throttle cable

1шт.

3

409-7412

BOLT,Hex Flg, 1/4" - 20 x 3/4", Spcl

BOLT hex serrated flange, 1/4 NC x 3/4"

4шт.

4

239295A1

BRACKET

mounting, throttle cable, at engine

1шт.

5

844-8035

BOLT,Hvy Hex, M8 x 35mm, Cl 8.8

2шт.

6

310484C91

BALL JOINT

1шт.

7

492-11010

LOCK WASHER,#10

1шт.

8

225-14210

NUT,#10-32

2шт.

9

1289365C1

SUPPORT

BRACKET throttle cable to injection pump

1шт.

10

627-6016

BOLT,Hex, M6 x 1 x 16mm, Cl 10.9, Full Thd

Full threads

2шт.

11

896-11006

WASHER,6.6mm ID x 12.5mm OD x 2mm Thk

2шт.

12

892-11006

LOCK WASHER,M6

2шт.

Выбрано товаров: 12