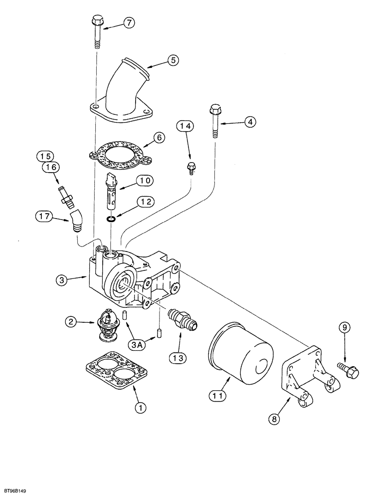
Запчасти Case IH 6831TA (02-048) - THERMOSTAT HOUSING AND WATER FILTER, 6T-830 EMISSIONS CERTIFIED ENGINE, 6TA-830 EMISSIONS CERTIFIED

Схема запчастей Case IH 6831TA - (02-048) - THERMOSTAT HOUSING AND WATER FILTER, 6T-830 EMISSIONS CERTIFIED ENGINE, 6TA-830 EMISSIONS CERTIFIED
11
9
8
7
10
12
5
1
13
14
16
3a
4
3
17
15
2
6
FIT
1:1
100%

Артикул

Название

Примечание

Количество

1

J914310

GASKET,0.8mm Thk

thermostat housing

1шт.

2

J928639

THERMOSTAT

engine coolant

2шт.

J926509

HOUSING,Thermostat

thermostat

1шт.

3

NSS

NOT SOLD SEPARAT

HOUSING thermostat

1шт.

3a

180811A1

ROLL PIN

roll, special

2шт.

4

845-8080

BOLT,Hvy Hex, M8 x 80mm, Cl 8.8

2шт.

5

J912052

ELBOW

TUBE water outlet

1шт.

6

J918779

GASKET,1.19mm Thk

outlet tube, water

1шт.

7

845-8095

BOLT,Hvy Hex, M8 x 95mm, Cl 8.8

Heavy

2шт.

8

J923263

SUPPORT

alternator mounting

1шт.

9

845-8025

BOLT,Hex Flg, M8 x 25mm, Cl 8.8

4шт.

10

J912837

COCK

VALVE shutoff

1шт.

11

A77544

FILTER

water conditioning, precharge

1шт.

12

238-5111

O-RING,0.103" Thk x 0.424" ID, -111, Cl 5, 75 Duro

1шт.

13

A77623

ADAPTER,3/4" - 10 x 11/16" - 16

water filter

1шт.

14

845-6010

BOLT,Hvy Hex, M6 x 10mm, Cl 8.8

1шт.

15

240434A1

ORIFICE

straight, 0.094" hole, 1/8 PT x 5/16" stem end, used on model 6831TA with aftercooler

1шт.

See Figure 02-004 or 02-006 for the remainder of the Coolant Recovery parts

1шт.

16

241173A1

FITTING

ORIFICE straight, 0.120" hole, 1/8 PT x 5/16" stem end, used on model 6831T without aftecooler

1шт.

See Figure 02-004 or 02-006 for the remainder of the Coolant Recovery parts

1шт.

17

217-15

ELBOW,45 Degree, 1/8"-27 NPTF, Fem x 1/8"-27 NPTF Male

ELBOW street, 1/8" PT x female PT, 45°

1шт.

See Figure 02-004 or 02-006 for the remainder of the Coolant Recovery parts

1шт.

Выбрано товаров: 22