Запчасти Case IH 6831TA (02-052) - CULINDER BLOCK, 6T-830 EMISSIONS CERTIFIED ENGINE, 6TA-830 EMISSIONS CERTIFIED ENGINE

Схема запчастей Case IH 6831TA - (02-052) - CULINDER BLOCK, 6T-830 EMISSIONS CERTIFIED ENGINE, 6TA-830 EMISSIONS CERTIFIED ENGINE
18
10
29
13
20
31
3
30
4
6
14
7
21
17
14
32
14
12
16
7
22
11
12
8
19
5
15
26
7
25
2
8
9
1
7
28
FIT
1:1
100%

Артикул

Название

Примечание

Количество

220001A2

ENGINE ASSEMBLY

ENGINE ASSY complete

1шт.

The engine part number is stamped on a metal tag which is mounted on the front gear cover

1шт.

6T-830 Emissions Certified, for service order P/N 199985A1 Basic Engine

1шт.

220000A2

ENGINE ASSEMBLY

ENGINE ASSY complete

1шт.

The engine part number is stamped on a metal tag which is mounted on the front gear cover

1шт.

6T-830 Emissions Certified, for service order P/N 199985A1 Basic Engine

1шт.

199985A1R

REMAN-BASIC ENGINE

Assembly Remanufactured, See Note

1шт.

Component parts shown on this page do not apply to the remanufactured assembly

1шт.

199985A1C

CORE-BASIC ENGINE

Return Part Number

1шт.

Use this part number to return Engine Core for credit when using a remanufactured Assembly

1шт.

199985A1

BASIC ENGINE

ASSEMBLY

1шт.

Includes all parts except starter, alternator, fan, fan belt, air cleaner, muffler, exhaust manifold, flywheel and housing, oil fill and dipstick, fuel injection pump, injectors and lines, front pulley, belt tensioner, turbocharger and aftercoooler

1шт.

JR931187

BLOCK

ASSEMBLY short, remanufactured, North America only

1шт.

Component parts shown on this page do not apply to the remanufactured assembly

1шт.

JC931187

CORE-ENGINE

Return Part Number

1шт.

Use this part number to return Block Core for credit when using a remanufactured Assembly

1шт.

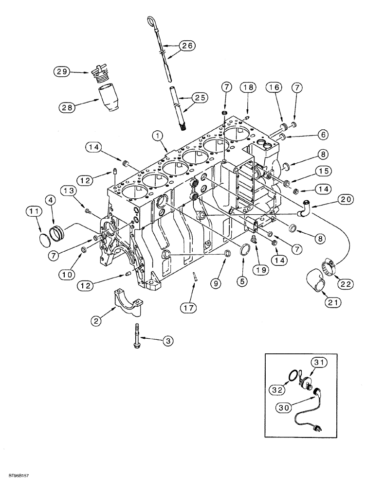
1

J931187

SKELETON ENGINE

BLOCK ASSEMBLY short, new, includes stripped block, pistons, connecting rods and bearings, crankshaft and bearings

1шт.

2

J917313

BEARING CAP

bearing, main

7шт.

3

J916369

FLANGE BOLT,Hex, M14 x 2 x 128mm, Cl 10.9

Bearing cap to block

14шт.

4

J901685

BUSHING

camshaft, see Figure 02-050, Ref. 6

7шт.

5

A77782

PLUG

expansion, 58 mm OD

1шт.

6

A77586

PLUG

expansion, 28.9 mm OD

1шт.

7

A77506

PLUG

expansion, 21 mm OD

4шт.

8

J905401

PLUG

expansion, 35 mm OD

4шт.

9

J920706

PLUG

expansion, 22 mm OD, not used in this application

1шт.

10

A77530

PLUG

expansion, 30 mm OD, not used in this application

2шт.

11

41-3044

PLUG,Exp, 2 3/4"

1шт.

12

J901846

PIN,12.01mm OD x 24mm L

dowel

4шт.

13

J906619

PLUG,1/8" - 27

hex, 1/8" PT

6шт.

14

A77429

PLUG

hex socket, 1/2" PT

4шт.

15

A77505

PLUG

hex socket, 3/4" PT

2шт.

16

A77533

PLUG

hex socket, 1" PT

1шт.

17

J928031

NOZZLE,8.5mm OD x 30mm L

piston cooling

12шт.

18

J900257

PIN,10.01mm OD x 16mm L

dowel, 16 mm long

2шт.

19

217-103

COCK, DRAIN

VALVE, 1/4" PT, coolant

1шт.

20

J903744

PIPE FITTING,22.42 mm ID x 28 mm OD x 90.2, 64 mm L

TUBE turbocharger oil drain, see Figure 02-026 or 02-028 for connecting turbocharger parts

1шт.

21

J920762

ELBOW

HOSE, water

1шт.

22

J918521

HOSE CLAMP,59mm - 83mm

adjusting, 1-13/16-2-3/4" diameter, coolant

1шт.

25

J905425

TUBE,9.52 mm OD x 93 mm L

dipstick, oil

1шт.

26

J906757

DIPSTICK

oil gauge

1шт.

27

J900955

PLUG

expansion, 10 mm OD, unused dipstick tube hole, not shown

1шт.

28

J905408

TUBE,35.13 mm ID x 52.39 mm OD x 100 mm L

oil filler

1шт.

29

A77424

FILLER CAP

CAP oil fill tube

1шт.

196804A1

KIT

engine block heater

1шт.

30

196466A1

ELECTRIC CABLE

engine block heater

1шт.

31

NSS

NOT SOLD SEPARAT

ELEMENT heater, 120 volt, block engine

1шт.

32

J910517

O-RING

heater sealing, engine block

1шт.

Выбрано товаров: 47