Запчасти Case IH 188 (04) - ENGINE GASKET KITS, SPARK IGNITION ENGINE

Схема запчастей Case IH 188 - (04) - ENGINE GASKET KITS, SPARK IGNITION ENGINE
15
5
9
12
13
16
6
8
4
2
1
7
10
17
14
3
11
FIT
1:1
100%

Артикул

Название

Примечание

Количество

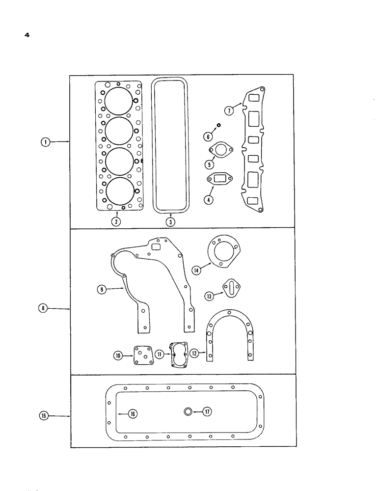
1

A36411

GASKET

VALVE GRIND KIT

1шт.

2

A36299

GASKET

-, Serial Range: head-block

1шт.

3

G46866

GASKET

- valve cover

1шт.

4

VT3228

X

GASKET - outlet elbow

1шт.

5

G46826

GASKET

- carburetor

1шт.

6

G46851

SEAL

- rubber, intake valve system

4шт.

7

G46868

MANIFOLD GASKET

-, Serial Range: manifold-head

1шт.

8

G11990

X

CYLINDER BLOCK KIT

1шт.

9

G46863

GASKET

- timing gear cover

1шт.

10

G46854

GASKET

- oil filter bracket

1шт.

11

G46852

GASKET

- oil pump cover

1шт.

12

G46802

GASKET

- crankshaft rear oil seal

1шт.

13

G46902

GASKET

- fuel pump

1шт.

14

A38083

GASKET

- water pump ( replaced G46875 )

1шт.

15

A40712

KIT

GASKET KIT - oil pan

1шт.

16

NSS

NOT SOLD SEPARAT

GASKET - oil pan (Order A40712)

1шт.

17

A27927

OIL PAN GASKET SET

- drain plug ( replaced O9844AB )

1шт.

REF#17 REPLACED BY A27927.NOTE:ALSO THERE IS A NYLON GASKET AVAILABLE A58608. 8/21/96

1шт.

Выбрано товаров: 18