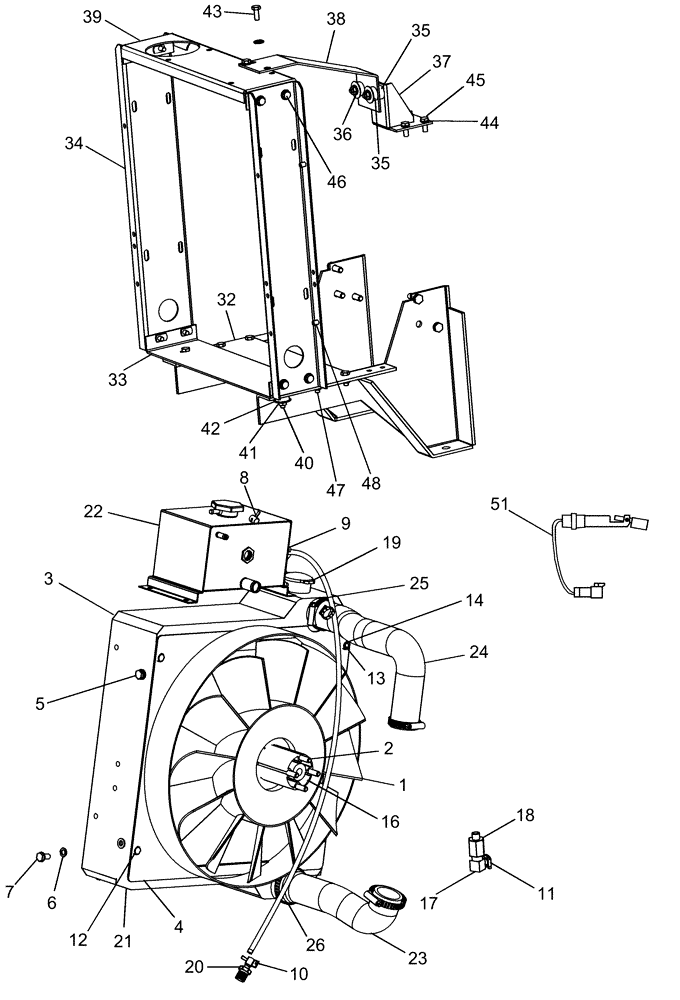
Запчасти Case IH P85 (02-01) - COOLING SYSTEM AND DEAERATION TANK (02) - ENGINE

Схема запчастей Case IH P85 - (02-01) - COOLING SYSTEM AND DEAERATION TANK (02) - ENGINE
35
35
51
36
47
41
38
45
16
20
14
34
42
25
8
32
18
5
9
2
22
23
37
12
17
13
19
1
43
24
39
7
6
11
26
48
4
46
33
10
40
21
3
44
FIT
1:1
100%

Артикул

Название

Примечание

Количество

1

87405214

FAN

12 Blade, 19-11/16 in Diameter

1шт.

2

86998478

SPACER

Fan

1шт.

3

234876A2

RADIATOR

4 Row

1шт.

See Figure 02-02

1шт.

4

186433A1

SHROUD

Fan

1шт.

5

895-11010

WASHER,11mm ID x 20mm OD x 2mm Thk

4шт.

6

892-11010

LOCK WASHER,M10

4шт.

7

614-10020

BOLT,Hex, M10 x 1.5 x 20mm, Cl 8.8, Full Thd

4шт.

8

J923527

CLAMP

14 mm

5шт.

9

87442013

HOSE,80.00 mm

36 Inch

1шт.

Cut from 414365C2

1шт.

10

241173A1

FITTING

0.120 1/8 NPT x 5/16

1шт.

11

86625021

HOSE CLAMP,17.5mm - 31.7mm, Worm Gear

2шт.

12

895-11008

WASHER,9mm ID x 16mm OD x 1.6mm Thk

4шт.

13

892-11008

LOCK WASHER,8mm ID

4шт.

14

614-8016

BOLT,Hex, M8 x 1.25 x 16mm, Cl 8.8, Full Thd

4шт.

15

86632588

WASHER,0.41" ID x 0.81" OD x 0.07" Thk

(Not Shown)

4шт.

16

814-10120

BOLT,Hex, M10 x 1.5 x 120mm, Cl 8.8

4шт.

17

217-129

ELBOW,90 Degree Elbow, 3/4" Hose Barb x 1/2" Male NPTF

1шт.

18

87271484

FITTING

M22 x 1/2 NPTF

1шт.

19

253858A1

PLUG

1шт.

20

28796R1

ORIFICE

1шт.

21

190562A2

SEALING STRIP,30mm W x 546mm L x 12.7mm Thk

Shroud

2шт.

22

87707874

TANK

Deaeration

1шт.

23

87707873

RADIATOR HOSE,57.40 mm ID x 10.30 mm

Lower

1шт.

24

87707875

RADIATOR HOSE,1.77" ID x 12.32"

Upper

1шт.

25

86624194

HOSE CLAMP,1.81” - 2.75”, Worm Gear

2шт.

26

45014

HOSE CLAMP,2.06” - 3” , Worm Gear

1шт.

27

80680

LOCK WASHER,3/8 0.381 CST ZND

(Not Shown)

4шт.

28

9670285

BOLT,Hex, 3/8" - 16 x 1", Gr 8, Full Thd

(Not Shown)

4шт.

29

277647A1

HOSE

(Not Shown)

1шт.

30

86625234

DRAINCOCK/TAP SUPPLY,1/4" NPTF

1шт.

31

A170241

RADIATOR CAP

15 PSI

1шт.

32

87710611

BRACKET, SUPPORTING

Lower

1шт.

33

87710616

SUPPORT

1шт.

34

87710615

SUPPORT

Upper, Right

2шт.

35

87710612

ISOLATOR

4шт.

36

86625257

WASHER,0.41" ID x 1.25" OD x 0.1" Thk

4шт.

37

87710614

BRACKET

Lower, Left

1шт.

38

87710613

BRACKET

Upper

1шт.

39

87710617

SUPPORT

1шт.

40

88436

BOLT,Hex, 3/8" - 16 x 2", Gr 5

4шт.

41

425-106

NUT,3/8"-16, Cl 5

4шт.

42

492-11038

LOCK WASHER,3/8"

14шт.

43

9670285

BOLT,Hex, 3/8" - 16 x 1", Gr 8, Full Thd

6шт.

44

892-11010

LOCK WASHER,M10

3шт.

45

614-10025

BOLT,Hex, M10 x 1.5 x 25mm, Cl 8.8

3шт.

46

413-610

BOLT,Hex, 3/8" - 16 x 5/8", Gr 5

8шт.

47

247780

SERRATED NUT,Flg, USR, 3/8"-16

4шт.

48

87441708

NUT

4шт.

49

87442014

HOSE,745.00 mm

12 Inch, (Not Shown)

1шт.

Cut from 414365C2

1шт.

50

277644A1

HOSE

24 Inch, (Not Shown)

1шт.

Cut from 414365C2

1шт.

51

84134624

SENSOR

Coolant level

1шт.

52

87710609

SUPPORT

Right

1шт.

53

87710610

SUPPORT

Left

1шт.

Выбрано товаров: 57