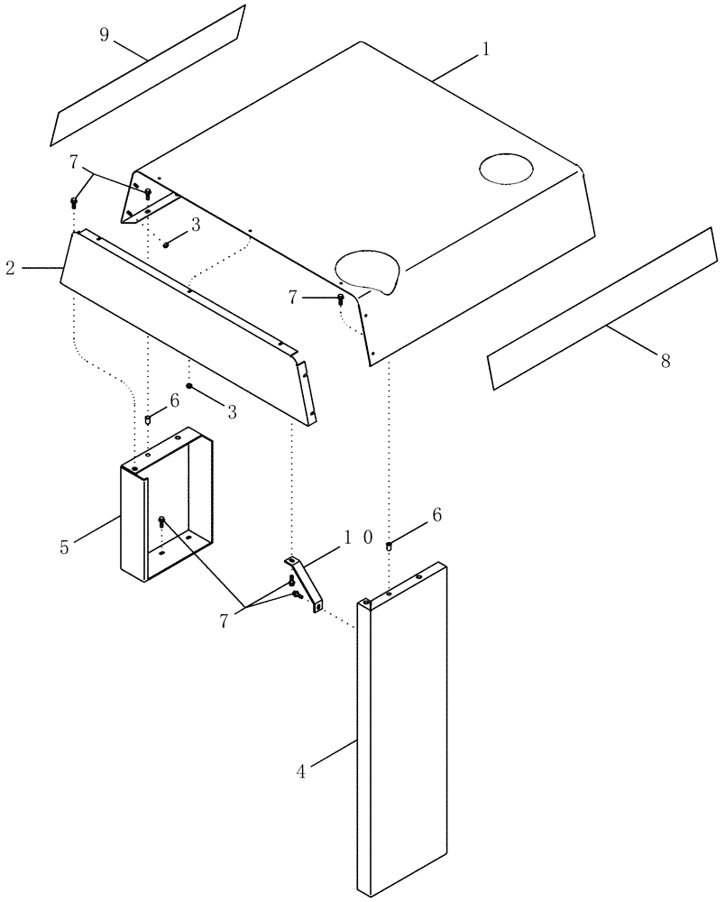
Запчасти Case IH PX110 (09-01) - HOOD ASSEMBLY, REAR (09) - CHASSIS/ATTACHMENTS

Схема запчастей Case IH PX110 - (09-01) - HOOD ASSEMBLY, REAR (09) - CHASSIS/ATTACHMENTS
6
3
2
1
5
7
6
9
7
8
7
3
4
10
FIT
1:1
100%

Артикул

Название

Примечание

Количество

87441972

ENGINE HOOD

Inc. REF 1 - 10

1шт.

1

87441974

ENGINE HOOD

1шт.

2

87441987

REAR COVER

1шт.

3

231-24409

NUT,#10-32

No. 10

7шт.

4

102327A1

ASSEMBLY

Right Rear Upright

1шт.

5

102324A1

PANEL

Hood Filler

1шт.

6

87441708

NUT

1/4

8шт.

7

409-7412

BOLT,Hex Flg, 1/4" - 20 x 3/4", Spcl

22шт.

8

87423513

DECAL

Right Rear

1шт.

See Figure 09-04

1шт.

9

87423512

DECAL

Left Rear

1шт.

See Figure 09-04

1шт.

10

87420722

BRACE

Hood Support

1шт.

Выбрано товаров: 13