Запчасти Case IH PX170 (09-01) - HOOD ASSEMBLY, REAR, BSN (09) - CHASSIS/ATTACHMENTS

Схема запчастей Case IH PX170 - (09-01) - HOOD ASSEMBLY, REAR, BSN (09) - CHASSIS/ATTACHMENTS
10
6
1
3
9
3
7
7
7
2
4
8
5
7
6
FIT
1:1
100%

Артикул

Название

Примечание

Количество

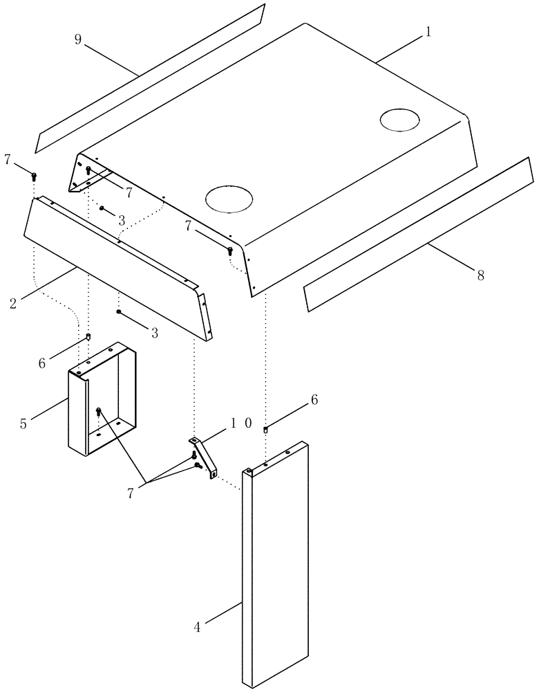
1

87448512

ENGINE HOOD

1шт.

2

87441987

REAR COVER

1шт.

3

231-24409

NUT,#10-32

No. 10

7шт.

4

102327A1

ASSEMBLY

Right Rear Upright

1шт.

5

102324A1

PANEL

Hood Filler

1шт.

6

87441708

NUT

8шт.

7

409-7412

BOLT,Hex Flg, 1/4" - 20 x 3/4", Spcl

22шт.

8

87423511

DECAL

Right Rear

1шт.

See Figure 09-04

1шт.

9

87423510

DECAL

Left Rear

1шт.

See Figure 09-04

1шт.

10

87420722

BRACE

Hood Support

1шт.

Выбрано товаров: 12