Качественные детали и логистика
Оригинальные и аналоговые запчасти с доставкой по России, Казахстану и Беларуси
©2022 PartSell ООО "Система" ИНН 2463123282 ОГРН 1212400004838
Центральный офис: г. Красноярск, Академика Киренского, д.87, пом.4
Телефон: 8 (800) 777-65-74 Email: zakaz@partsell.ru
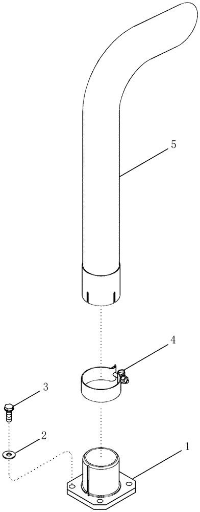
(02-07) - EXHAUST SYSTEM - PX70
№
Артикул
Название
Примечание
Количество
1
87448806
FLANGE
Exhaust
1шт.
2
4899118
FLANGE NUT,M8
3
4899119
STUD,M8 x 1.25 x 40
4
190981A1
CLAMP,76.2mm ID
5
87456248
EXHAUST SYSTEM PIPE
Extension
2шт.
Выбрано товаров: 0