Запчасти Case IH PX70 (03-01) - THROTTLE CONTROL (03) - FUEL SYSTEM

Схема запчастей Case IH PX70 - (03-01) - THROTTLE CONTROL (03) - FUEL SYSTEM
9
2
9
7
10
12
8
6
11
4
3
13
1
10
5
FIT
1:1
100%

Артикул

Название

Примечание

Количество

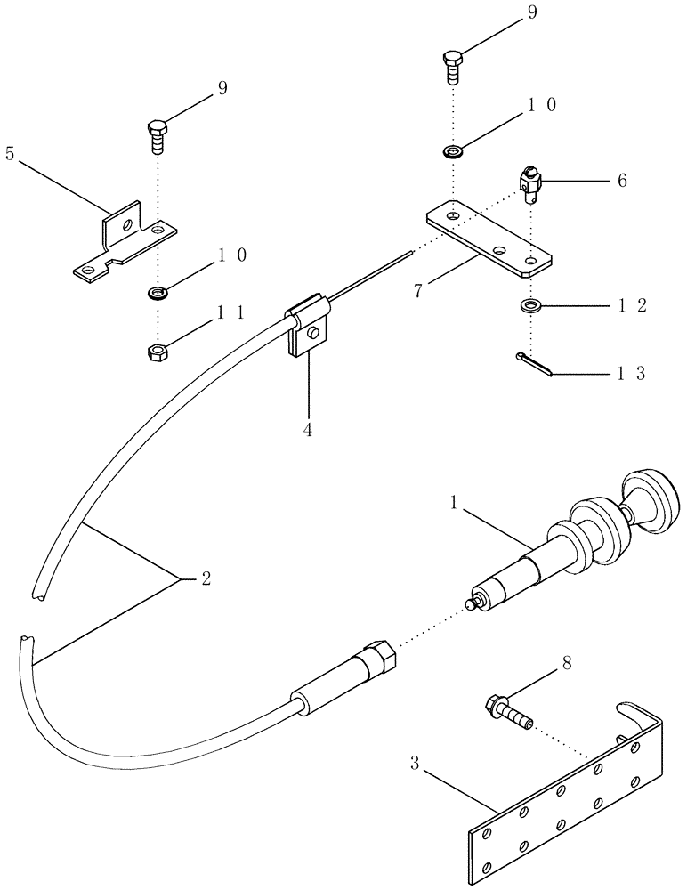
1

87441696

HANDLE GRIP

Throttle Control

1шт.

2

87441697

FLEXIBLE CABLE

Throttle, 40 inch

1шт.

3

102406A1

BRACKET

Mounting, Throttle Cable

1шт.

4

87441698

CLAMP

Cable Head

1шт.

5

87456804

BRACKET

Mounting, Throttle Cable End

1шт.

6

309762A1

PIVOT

Throttle Cable

1шт.

7

87441692

BRACKET, SUPPORTING

Throttle Lever

1шт.

8

409-7416

BOLT,Hex Flg, 1/4" - 20 x 1", Spcl

4шт.

9

614-6016

BOLT,Hex, M6 x 1 x 16mm, Cl 8.8, Full Thd

4шт.

10

892-11006

LOCK WASHER,M6

4шт.

11

829-1406

NUT,Hex, M6 x 1, Cl 10.9

2шт.

12

895-11006

WASHER,6.6mm ID x 12mm OD x 1.6mm Thk

1шт.

13

432-612

COTTER PIN,3/32" x 3/4"

1шт.

Выбрано товаров: 13