Запчасти Case IH 100A (10.102.AP) - ENGINE OIL SUMP (10) - ENGINE

Схема запчастей Case IH 100A - (10.102.AP) - ENGINE OIL SUMP (10) - ENGINE
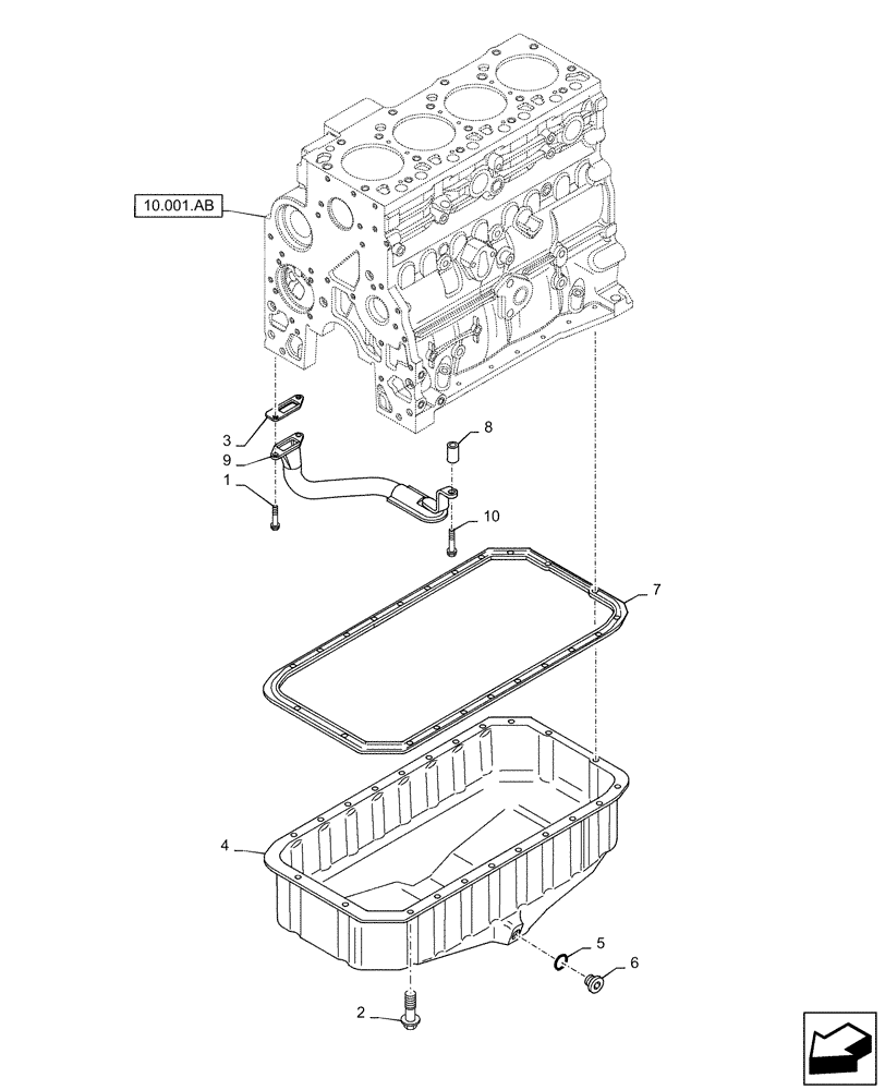
2
6
7
8
3
1
9
4
10.001.ab
10
5
FIT
1:1
100%

Артикул

Название

Примечание

Количество

1

2852234

FLANGE BOLT,Hex, M8 x 1.25 x 20mm

2шт.

2

4899091

SCREW,Hex Flange Cap, M8 x 1.25 x 40.00mm

22шт.

2

4895489

FLANGE BOLT,Hex, M8 x 1.25 x 110mm

2шт.

3

4898301

GASKET,0.42mm Thk

Pick Up

1шт.

4

2852011

ENGINE OIL PAN

Assy

1шт.

5

2853728

O-RING,M23.47 ID x 2.62 Thk

1шт.

6

2856086

PLUG

Oil Drain

1шт.

7

2852012

OIL PAN GASKET SET

Seal

1шт.

8

2852016

SPACER,11mm ID x 22mm OD x 39mm L

Pick Up

1шт.

9

2852013

STRAINER ELEMENT

Pick Up

1шт.

10

4895538

FLANGE BOLT,Hex, M10 x 1.5 x 120mm

1шт.

Выбрано товаров: 11