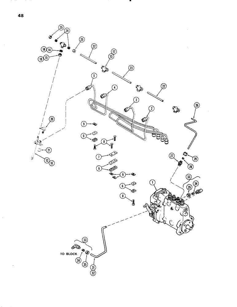
Запчасти Case IH 336D (048) - FUEL INJECTION SYSTEM, ENGINE LESS FUEL DEVICE, 336DT AND 336D DIESEL ENGINES

Схема запчастей Case IH 336D - (048) - FUEL INJECTION SYSTEM, ENGINE LESS FUEL DEVICE, 336DT AND 336D DIESEL ENGINES
24
34
19
17
1
18
5
33
27
6
21
34
25
22
33
35
29
22
23
6
9
15
35
20
31
25
4
8
6
14
26
2
12
7
32
16
9
8
13
28
3
FIT
1:1
100%

Артикул

Название

Примечание

Количество

1

REF

INSTRUCTION

PUMP ASSY, fuel injection (see pages 59 & 61)

1шт.

2

A58702

TUBE

Fuel injection, #1 cylinder

1шт.

3

A58703

TUBE

Fuel injection, #2 cylinder

1шт.

4

A58704

TUBE

Fuel injection, #3 cylinder

1шт.

5

A58705

TUBE

Fuel injection, #4 cylinder

1шт.

6

A58709

BRACKET

CLAMP - injection tubes

8шт.

7

A58710

PLATE

Clamp support

1шт.

8

163-19

SCREW,Sl Hex Wshr Hd, #10 - 24 x 1"

SCREW - #10 x 1" N.C. rd. hd.

4шт.

9

131-612

SPRING NUT,Flat, #10 - 24, 0.022" Thk

4шт.

NSS

NOT SOLD SEPARAT

NOZZLE ASSY. - w/leak-off (336DT)

4шт.

12

A138322

NOZZLE CAP

ASSY, fuel injection (See page 51)

1шт.

A138322R

REMAN-INJECT NOZZLE

336D, 336DT

1шт.

A138322C

CORE-NOZZLE, INJECT

Return Number

1шт.

13

A58960

TEE,1/2" - 25 NPT x 1/2" - 25 NPT x 9/16" - 24 NPT

TEE - nozzle to leak-off lines

1шт.

14

A58962

GROMMET,9.14mm ID x 12.82mm OD x 5.28mm Thk

Tee

1шт.

15

A58961

NUT

Tee

1шт.

NSS

NOT SOLD SEPARAT

NOZZLE ASSY, w/leak-off (336D)

4шт.

16

A140830

INJECTOR ASSY.

NOZZLE, fuel injection (See page 51)

1шт.

A140830R

REMAN-INJECT NOZZLE

336D, 336DT

1шт.

A140830C

CORE-NOZZLE, INJECT

Return Number

1шт.

17

A58960

TEE,1/2" - 25 NPT x 1/2" - 25 NPT x 9/16" - 24 NPT

TEE - nozzle to leak-off lines

1шт.

18

A58962

GROMMET,9.14mm ID x 12.82mm OD x 5.28mm Thk

Tee

1шт.

19

A58961

NUT

Tee

1шт.

20

A58695

CLAMP

ASSY, nozzle

4шт.

21

A58696

SPACER

SPACER - nozzle clamp

4шт.

22

A58965

TUBE

Leak-off, 4-5/8" long

2шт.

23

A58964

TUBE

Leak-off, 5-5/8" long

1шт.

24

222-102

SLEEVE,1/4" Tube

8шт.

25

87017024

TUBE NUT,1/2"-24

For 1/4" tube

8шт.

26

A58963

TUBE

#1, Serial Range: nozzle-pump

1шт.

27

A28098

VALVE

ASSY, check

1шт.

28

222-102

SLEEVE,1/4" Tube

1шт.

29

87017024

TUBE NUT,1/2"-24

For 1/4" tube

1шт.

31

A136901

TUBE

Heat exchanger to pump (336DT)

1шт.

32

A136902

TUBE

Heat exchanger to pump (336D)

1шт.

33

222-4042

ELBOW,90 Degree, 1/2"-24 Fem x 1/8"-27 NPTF

ASSY, tube

2шт.

34

222-102

SLEEVE,1/4" Tube

1шт.

35

87017024

TUBE NUT,1/2"-24

For 1/4" tube

1шт.

Выбрано товаров: 38