Запчасти Case IH 504D (098) - FUEL INJECTION PUMP, 504D NATURALLY ASPIRATED ENGINES, B, E, H (10) - ENGINE

Схема запчастей Case IH 504D - (098) - FUEL INJECTION PUMP, 504D NATURALLY ASPIRATED ENGINES, B, E, H (10) - ENGINE
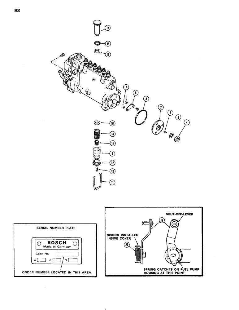
19
14
11
13
2
6
16
17
20
8
10
7
5
18
3
4
9
12
15
FIT
1:1
100%

Артикул

Название

Примечание

Количество

A138056

PUMP ASSY - fuel injection (See Note) (Qty: B-1)

1шт.

A138055

PUMP ASSY - fuel injection (See Note) (Qty: E-1)

1шт.

A138057

PUMP ASSY - fuel injection (See Note) (Qty: H-1)

1шт.

2

A41853

HUB

- pump drive (All Columns)

1шт.

3

A42312

LOCK WASHER

- lock, hub nut (All Columns)

1шт.

4

A42313

NUT

- hub retaining (All Columns)

1шт.

5

A20933

KEY

- hub to pump shaft (All Columns)

1шт.

6

A41854

INDICATOR

POINTER - hub adjustment (All Columns)

1шт.

7

A41855

BUSHING

SPACER - pointer (All Columns)

2шт.

8

A41856

O-RING,3mm Thk x 75mm ID

"O" RING - 3-3/16 x 2-61/64 x 1/8" (All Columns)

1шт.

9

A43347

BOWL

- filter (All Columns)

1шт.

10

A43346

GASKET

- bowl (All Columns)

1шт.

11

A43350

CLAMP

BAIL - bowl (All Columns)

1шт.

12

A43348

NUT

BAIL NUT - bowl seat (All Columns)

1шт.

13

A43349

STUD

- bail nut retaining (All Columns)

1шт.

14

A43344

FILTER, ELEMENT

ELEMENT - filter (All Columns)

1шт.

15

A43345

SPRING

element retaining (All Columns)

1шт.

16

A43351

SEAL

- hand primer pump (copper) (All Columns)

2шт.

17

A43343

CARTRIDGE

PUMP ASSY - hand primer (All Columns)

1шт.

18

A41761

GASKET

- primer pump (rubber) (All Columns)

1шт.

19

A45273

LEVER - shut-off (w/Bowden wire connector) (All Columns)

1шт.

20

A45277

SPRING - torsion, lever (used w/A45273 lever) (All Columns)

1шт.

Выбрано товаров: 22