Запчасти Case IH 504DT (134) - AIR CLEANER, 504DTI, 504DT AND 504D DIESEL ENGINES, DRY II WITH PRE-CLEANER, E (10) - ENGINE

Схема запчастей Case IH 504DT - (134) - AIR CLEANER, 504DTI, 504DT AND 504D DIESEL ENGINES, DRY II WITH PRE-CLEANER, E (10) - ENGINE
19
9
18
2
19
38
35
16
23
6
36
26
17
22
3
23
16
29
5
26
27
20
29
19
29
23
41
21
18
22
6
39
36
15
7
2
3
25
38
20
40
29
40
25
19
37
15
7
35
22
21
5
17
10
39
28
37
FIT
1:1
100%

Артикул

Название

Примечание

Количество

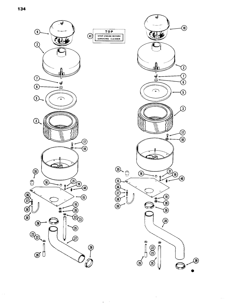
A66773

CLEANER ASSY. - air

1шт.

2

A44886

COVER - air cleaner

1шт.

3

A44538

ELEMENT

- air cleaner, w/wrapper

1шт.

5

A44885

COVER - inner

1шт.

6

L10610

WASHER - wingnut

1шт.

7

129-505

NUT, WING

WINGNUT - 1/4" N.C.

1шт.

9

L11824

AIR PRE-CLEANER ASSY

PRE-CLEANER - air (504DTI & 504DT)

1шт.

10

A64591

CLEANER

PRE-CLEANER - air (504D)

1шт.

15

A136517

PLATE - air cleaner mounting

1шт.

16

A26547

SPACER,1/4" Pipe x 1/2"

- air cleaner to plate

3шт.

17

13-518

BOLT,Hex, 5/16" - 18 x 1-1/8", Gr 5

- 5/16 x 1-1/4" N.C. hex.

3шт.

18

195-521

WASHER,5/16", SAE

- 11/32 x 11/16 x 1/16"

3шт.

19

192-20

LOCK WASHER,Helical Spring, 0.318" ID, CST, ZND

WASHER, LOCK, 5/16"

6шт.

20

9635082

NUT,5/16" - 18, Gr 5

3шт.

21

13-512

BOLT,Hex, 5/16" - 18 x 3/4", Gr 5

3шт.

22

95-5

WASHER,3/8" x 7/8" x .083"

- 3/8 x 7/8 x 5/64"

5шт.

23

195-529

WASHER,7/16", SAE

(15/32 x 59/64 x 1/16") 7/16", SAE

1шт.

25

A65920

POST - air cleaner mounting

2шт.

26

A65921

POST - air cleaner mounting

1шт.

27

A65926

DUCTING - air cleaner to turbocharger (504DTI & 504DT)

1шт.

28

A65922

DUCT

ING - air cleaner to manifold (504D)

1шт.

29

214-264

HOSE CLAMP,#52, 2.81" - 3.75", Type F Worm

CLAMP - hose, 2-13/16 to 3-3/4"

2шт.

35

A59568

INDICATOR

- air restriction

1шт.

36

L13267

NIPPLE - 1/8" - 27

1шт.

37

L13268

LOCK NUT

- 1/8" - 27 jam

1шт.

38

A76220

CONNECTOR - 1/8 x 1/8"

1шт.

39

A66776

TUBE - air restriction indicator

1шт.

40

D36264

FITTING

- safety filter

1шт.

41

321-1568

DECAL

- air cleaner mounting

1шт.

Выбрано товаров: 29