Запчасти Case IH A301D (70) - ELECTRICAL SYSTEM, DIESEL ENGINE

Схема запчастей Case IH A301D - (70) - ELECTRICAL SYSTEM, DIESEL ENGINE
7
12
41
37
4
44
10
19
16
3
33
28
40
32
13
1
26
22
15
6
20
8
30
31
31
23
27
42
9
11
25
39
17
43
21
24
14
34
5
38
36
2
18
40
35
12
29
FIT
1:1
100%

Артикул

Название

Примечание

Количество

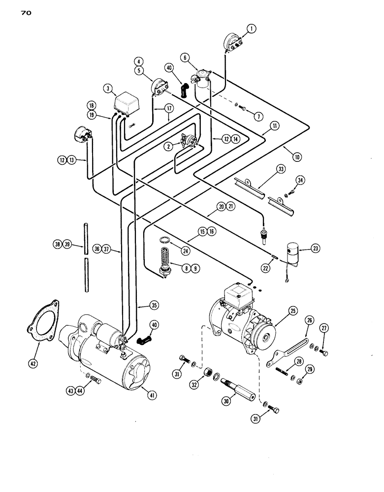
1

A10475

GAUGE - oil (Murphy)

1шт.

2

A24510

SWITCH

- starting (Diesel) includes keys

1шт.

3

A23261

SWITCH

ASSY. - relay

1шт.

4

A10471

GAUGE ASSY. - engine temp. (Type 1 & 2 Units)

1шт.

5

A10474

GAUGE

ASSY. - engine temp. (Type 3 Units)

1шт.

6

A21481

SOLENOID

- heater switch

1шт.

7

113-2

BOLT,Hex, 1/4" - 20 x 5/8", Gr 5

2шт.

8

A24396

X

HEATER ASSY. - manifold (12 volt)

1шт.

9

7770

NUT,Hex, 1/4 - 20, Cl 5

1/4"-20, G5

1шт.

10

A21482

CABLE

-, Serial Range: solenoid-heater

1шт.

11

A21483

CABLE

- starter solenoid to heater solenoid

1шт.

12

O3001AB

WIRE - ign. switch to ammeter & heater soln. (Type 1 & 2 Units)

2шт.

13

O5659AB

WIRE - ign. switch to ammeter (Type 3 Units)

1шт.

14

O8181AB

WIRE - ign. swt. to heater soln. (Type 3 Units)

1шт.

15

O7197AB

WIRE - generator to amm. (Type 3 Units)

1шт.

16

O6272AB

WIRE - gen. to amm. (Type 1 & 2 Units)

1шт.

17

A11193

WIRE - temp. & oil ga. to relay, "G" term.

2шт.

18

A8743

WIRE - ign. swt. to relay "B" term. (Type 1 & 2 Units)

1шт.

19

O3001AB

WIRE - ign. to relay "B" term (Type 3 Units)

1шт.

20

O9430AB

WIRE - relay "C" term. to fuel sol. (Type 1 & 2 Units)

1шт.

21

VT3607

WIRE - relay "C" term. to fuel sol. (Type 3 Units)

1шт.

22

O7549AB

CONNECTOR - two wire, fuel solenoid

1шт.

23

O10603AB

VALVE ASSY. - solenoid, fuel

1шт.

24

A20916

MANIFOLD GASKET

GASKET - manifold heater

1шт.

25

A33983

GENERATOR

ASSY. - engine (Repairs, P. 63)

1шт.

26

A21538

STRAP

- adj., generator

1шт.

27

193-514

SCREW,SEMS, Hex Hd, 5/16"-18 x 3/4"

- sems w/washer, 5/16" x 3/4" pilot pt.

1шт.

28

A7391

STUD

- gen. strap to water pump

1шт.

29

25-116

NUT,Hex, 3/8"-24, G5

- 3/8" N.F., hex.

1шт.

30

A22685

X

CARRIER - generator

1шт.

31

14-616

BOLT,Hex, 3/8" - 24 x 1", Gr 5

- 3/8" x 1" N.F., hex.

2шт.

32

25-1112

NUT,3/4"-16, G5

- 3/4" N.F., hex.

1шт.

33

A7532

CONDUIT - wire, engine

1шт.

34

13-58

BOLT,Hex, 5/16" - 18 x 1/2", Gr 5

2шт.

35

O5226AB

WIRE - ign., Serial Range: switch-starter

1шт.

36

O8181AB

WIRE - ign. swt. to st. sol. (Type 1 & 2 Units)

1шт.

37

O7253AB

WIRE - ign. swt. to st. sol. (Type 3 Units)

1шт.

38

O7666AB

X

LOOM - starter wires (Type 3 Units)

1шт.

39

O7653AB

LOOM - starter wires (Type 1 & 2 Units)

1шт.

40

A21753

CAP

NIPPLE - starter to solenoid cable

2шт.

41

A21281

STARTING MOTOR

MOTOR ASSY. - starter, eng. (Repairs, P. 65)

1шт.

42

O9866AB

X

GASKET - mtg., starter motor

1шт.

43

13-824

BOLT,Hex, 1/2" - 13 x 1-1/2", Gr 5, Full Thd

2шт.

44

13-844

BOLT,Hex, 1/2" - 13 x 2-3/4", Gr 5

Hex, 1/2"-13 x 2 3/4", G5

1шт.

Выбрано товаров: 44