Запчасти Case IH RP135 (10.101.AM) - CYLINDER HEAD AND VALVE MECHANISM (10) - ENGINE

Схема запчастей Case IH RP135 - (10.101.AM) - CYLINDER HEAD AND VALVE MECHANISM (10) - ENGINE
32
12
3
31
28
25
18
13
16
11
6
14
8
22
26
21
23
19
2
29
9
30
1
24
5
35
10
17
7
27
34
4
33
20
15
FIT
1:1
100%

Артикул

Название

Примечание

Количество

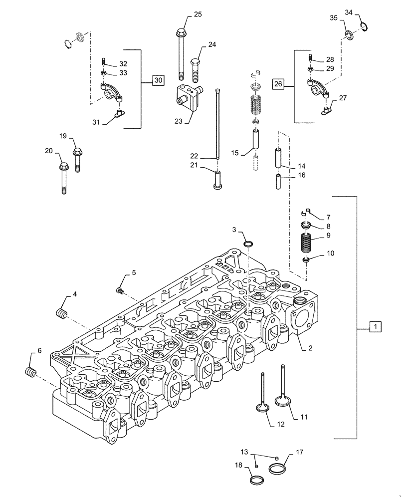
1

87430145

REMAN-CYLINDER HEAD

Head Assembly, Cylinder, Remanufactured, Component Parts Shown on this Page do not Apply to the Remanufactured Assembly, Incl 2 - 12

1шт.

1

87430146

CORE-CYLINDER HEAD

Return Part Number Use this Part Number to Return Cylinder Head Core for Credit when using a Remanufactured Assembly,

1шт.

2

87430144

HEAD (CYLINDER)

Cylinder, Without Valves, Incl 3

1шт.

3

84394317

PLUG

Expansion

5шт.

4

86625118

DRAIN PLUG,1/2" - 14 NPT

Square Socket Headless

5шт.

5

J906619

PLUG,1/8" - 27

Hex

2шт.

6

263136

MAGNETIC PLUG,Sq. Soc, 3/4"-14 NPTF

Hex Socket

1шт.

7

CASJ900250

RETAINER

Valve

24шт.

8

87433959

RETAINER

Valve Spring

12шт.

9

J926700

VALVE SPRING

12шт.

10

J921640

SEAL

Valve

12шт.

11

J920867

VALVE

6шт.

12

4895188

STD EXHAUST VALVE

6шт.

13

J910412

WEAR PAD

Valve Stem Tip

6шт.

14

J904408

GUIDE

Valve, Intake

6шт.

These Parts are Semi-Finished Valve Guides

1шт.

15

J904409

GUIDE

Valve, Exhaust

6шт.

These Parts are Semi-Finished Valve Guides

1шт.

16

J906206

GUIDE

Valve, Intake and Exhaust

12шт.

These Parts are Semi-Finished Valve Guides

1шт.

17

J906854

SEAT, VALVE

Insert, Intake

6шт.

18

J904105

SEAT, VALVE

Insert, Exhaust

6шт.

19

J920779

BOLT,Flng, M12 x 1.75 x 70mm, Cl 12.9

Cylinder Head

6шт.

20

J920780

BOLT,Flng, M12 x 1.75 x 120mm, Cl 12.9

Cylinder Head

14шт.

21

J931623

TAPPET

Valve, Push Rod

12шт.

22

J284377

PUSH ROD

Rocker Arm

12шт.

23

J922488

SUPPORT

Assy W/ Shaft, Rocker Arm

6шт.

24

Z1232960

SCREW

6шт.

25

J920781

BOLT,Flng, M12 x 1.75 x 180mm, Cl 12.9

Rocker Arm and Cylinder Head

6шт.

26

J910811

ROCKER

Intake, Incl 27 - 29

6шт.

27

NSS

NOT SOLD SEPARAT

Insert, Arm, Incl in 26

1шт.

28

J937438

ADJUSTMENT SCREW,Hex Skt, 3/8" - 24 x 33mm, Adj, Ball Point

Slotted Set, Special

1шт.

29

86509310

NUT,3/8" - 24, Gr 5

1шт.

30

J910810

ROCKER

Exhaust, Incl 31 - 33

6шт.

31

NSS

NOT SOLD SEPARAT

Insert, Arm, Incl in 30

1шт.

32

J937438

ADJUSTMENT SCREW,Hex Skt, 3/8" - 24 x 33mm, Adj, Ball Point

Slotted set, Special

1шт.

33

86509310

NUT,3/8" - 24, Gr 5

1шт.

34

4895363

SNAP RING

Retaining, Rocker arm

12шт.

35

J900245

WASHER

Rocker arm

12шт.

Выбрано товаров: 39