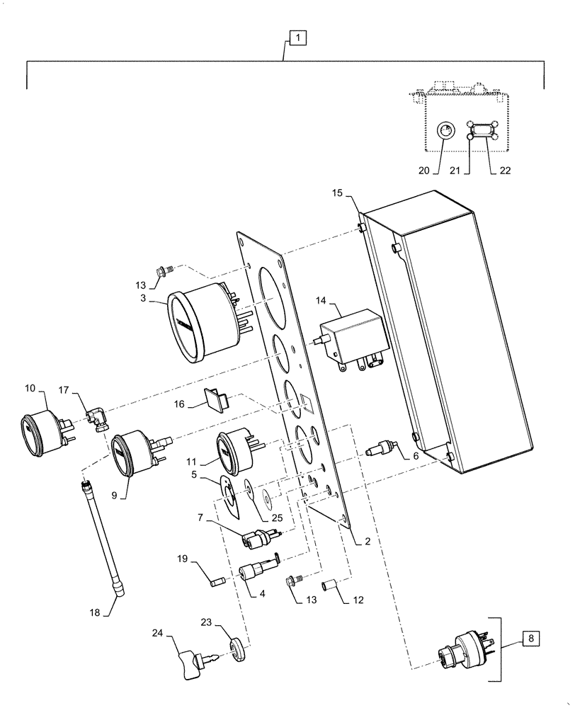
Запчасти Case IH RPZ65 (90.110.AH[01]) - INSTRUMENT PANEL, GUAGE (90) - PLATFORM, CAB, BODYWORK AND DECALS

Схема запчастей Case IH RPZ65 - (90.110.AH[01]) - INSTRUMENT PANEL, GUAGE (90) - PLATFORM, CAB, BODYWORK AND DECALS
14
21
1
10
24
15
3
8
4
23
19
18
25
17
2
13
22
12
5
9
6
13
11
16
7
20
FIT
1:1
100%

Артикул

Название

Примечание

Количество

1

47611970

PANEL

Assy, Instrument, Incl 2 - 25

1шт.

2

47611971

PANEL

Instrument

1шт.

3

47611983

TACHOMETER

With Hour Meter

1шт.

4

1347753C1

HOLDER

Fuse

1шт.

5

87656848

DECAL

Ignition

1шт.

6

1347699C1

BUTTON

Emergency Stop

1шт.

7

47613093

POST

Dual Binding

1шт.

8

9703814

IGNITION SWITCH

Rotary, Lock Assy, Incl 23 - 24

1шт.

9

247823A1

ASSEMBLY

Gauge, Switch/Coolant

1шт.

10

47613079

GAUGE

Oil Pressure

1шт.

11

1347695C1

VOLTMETER

1шт.

12

87441708

NUT

8шт.

13

523291

BOLT,Hex Serr Flg, 1/4" - 20 x 1/2"

4шт.

14

102787A1

KIT

Instrument, Magnetic Switch

1шт.

15

47612034

COVER

Switch Hole, Plug

1шт.

16

86539709

PLUG

Rocker Switch

1шт.

17

87444901

PIPE FITTING

Elbow, 1/8" x 1/8"

1шт.

18

87449694

HOSE ASSY.

15 Amp

1шт.

19

590420

FUSE

1шт.

20

87708286

BUSHING

1/2"

1шт.

21

86625170

SCREW,Hwh, M10-16, 3/4"

Instrument Panel

4шт.

22

47612023

WIRE HARNESS

Instrument Panel

1шт.

23

47513697

NUT

Ignition Switch Mounting

1шт.

24

9703810

IGNITION KEY

Engine Start

1шт.

25

84294085

WASHER

2шт.

Выбрано товаров: 25