Запчасти Case IH 8750 (3-06) - PICKUP ASSEMBLY, RIGHT, S.N. CFH0070001 THRU CFH0070183 (58) - ATTACHMENTS/HEADERS

Схема запчастей Case IH 8750 - (3-06) - PICKUP ASSEMBLY, RIGHT, S.N. CFH0070001 THRU CFH0070183 (58) - ATTACHMENTS/HEADERS
8
16
3
4
2
9
5
20
13
8
4
1
17
21
15
18
10
19
12
11
7
14
FIT
1:1
100%

Артикул

Название

Примечание

Количество

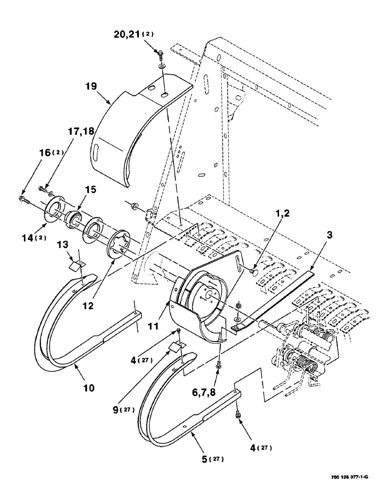
1

433-816

CARRIAGE BOLT,Sq Nk, 1/2" - 13 x 1", Gr 5

1/2-13 X 1 RHSNB

1шт.

2

231-5348

FLANGE NUT,Flg, 1/2"-13

1/2-13 HFTLN GR/G

1шт.

3

700127697

STRAP

1шт.

4

409-7612

BOLT,3/8"-16 x 1.09" OAL

3/8-16 X 3/4 HWHMS

54шт.

5

700126156

TINE

WRAPPER - tine

27шт.

6

434-616

CARRIAGE BOLT,Sht Sq Nk, 3/8" - 16 x 1", Gr 5

3/8-16 X 1 RHSNB

1шт.

7

496-81010

WASHER

3/8 HARDENED WIDE PLAIN WASHER

1шт.

8

232-5316

FLANGE NUT,Flg, 3/8"-16

3/8-16 HFTLN GR/G

1шт.

9

700126155

CLIP

27шт.

10

700126190

TOOTH

WRAPPER WA - right (S.N. CFH0070001 thru -70030)

1шт.

11

700126140

RAIL

TRACK WA - cam

1шт.

12

700126127

WEAR PLATE

PLATE

1шт.

13

700126209

CLIP

(S.N. CFH0070001 thru -70030)

1шт.

14

H747188

FLANGED BEARING,112.73 mm OD x 8.74 mm

FLANGE

2шт.

15

2419CHA

SPHERICAL BEARING,31.75mm ID x 62mm OD x 18mm W

BEARING - spherical

1шт.

16

700711084

BOLT

3/8-16 X 1-1/2 HFS GR8

2шт.

17

413-616

BOLT,Hex, 3/8" - 16 x 1", Gr 5

1шт.

18

496-11041

WASHER,13/32" x 13/16" x .065", HDN

3/8 HARDENED PLAIN WASHER

1шт.

19

700126148

SHIELD

WA - right

1шт.

20

121-237

SERRATED BOLT,Hex, 3/8" - 16 x 1 1/4, Spcl

3/8-16 X 1-1/4 HFS GR8

2шт.

21

700710049

WASHER

3/8 FENDER WASHER

2шт.

Выбрано товаров: 21