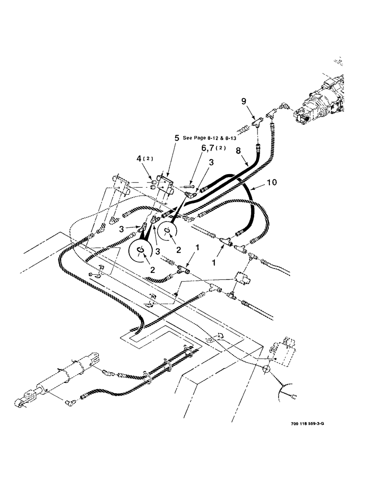
Запчасти Case IH 8840 (8-04) - HYDRAULIC ASSEMBLY- DEFLECTOR CONTROL, WITH GUARD ANGLE KIT (35) - HYDRAULIC SYSTEMS

Схема запчастей Case IH 8840 - (8-04) - HYDRAULIC ASSEMBLY- DEFLECTOR CONTROL, WITH GUARD ANGLE KIT (35) - HYDRAULIC SYSTEMS
6
9
3
4
2
1
1
2
10
2
3
8
FIT
1:1
100%

Артикул

Название

Примечание

Количество

1

700701550

3 WAY CONNECTION

TEE - swivel run

2шт.

2

738468

O-RING

2шт.

3

7746555

ELBOW

- 90 degrees (Includes item 2)

3шт.

4

6595516

SPACER

2шт.

5

700707590

CONTROL VALVE

VALVE

1шт.

6

7703523

BOLT,Hex, 3/8" - 16 x 4", Gr 5

3/8-16 x 4 C

2шт.

7

704247

NUT

3/8-16 HFSLN

2шт.

8

700707731

FLEXIBLE HOSE

HOSE - hydraulic

1шт.

9

7846850

TEE

- swivel

1шт.

10

7872864

HOSE ASSY.

HOSE - hydraulic

1шт.

Выбрано товаров: 10