Запчасти Case IH 8840 (2-02) - CONVEYOR ASSEMBLY- MAIN (58) - ATTACHMENTS/HEADERS

Схема запчастей Case IH 8840 - (2-02) - CONVEYOR ASSEMBLY- MAIN (58) - ATTACHMENTS/HEADERS
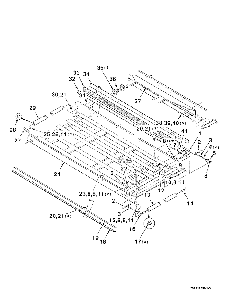
1
3
13
20
15
11
18
8
26
41
9
8
25
8
3
32
12
21
20
7
40
21
16
37
11
11
21
8
30
28
33
2
38
24
6
8
17
36
2
35
39
27
34
22
8
11
23
14
5
4
19
5
29
10
FIT
1:1
100%

Артикул

Название

Примечание

Количество

1

700119902

ROD

- tightener

1шт.

2

700119726

BUSHING

2шт.

3

140319

BOLT,1/2" - 13 x 5"

2шт.

4

704031

NUT

1/2-13 H

4шт.

5

38-11616

LOCK PIN,1/4" x 1", Slotted

1/4 x 1 ROLL PIN

2шт.

6

700119840

SUPPORT

- tightener

1шт.

7

240812

STOP

DOG

1шт.

8

705533

WASHER

3/8 HARDENED PLAIN WASHER

8шт.

9

240820

SPACER

1шт.

10

7701055

LEVER,Hex, 3/8" - 16 x 1 3/4", Gr 5

3/8-16 x 1-3/4 C

1шт.

11

704023

NUT,3/8"-16, G5

3/8-16 H

6шт.

12

705566

WASHER

3/4 HARDENED PLAIN WASHER

1шт.

13

6213748

ROLLER

ASSEMBLY (Includes item 17)

1шт.

14

239855

ROD

1шт.

15

703249

BOLT,Hex, 3/8" - 16 x 1", Gr 5

3/8-16 x 1 C

1шт.

16

700119841

SUPPORT

STRAP - tightener, front

1шт.

17

51540

BEARING

- cylindrical

2шт.

18

6513162

BELT,63.00 mm W x 2570.00 mm L

Front 63.00 mm W x 2570.00 mm L

1шт.

19

6513188

STRAP

- front

1шт.

20

7770159

CARRIAGE BOLT,Sht Sq Nk, 1/4" - 20 x 3/4", Gr 5

1/4-20 x 3/4 RHSNB

15шт.

21

704221

NUT

1/4-20 HFSLN

16шт.

22

6513139

TIGHTENER

BRACKET - tightener

1шт.

23

702035

BOLT,Hex, 3/8" - 16 x 1 1/4", Gr 5, Full Thd

3/8-16 x 1-1/4 C

2шт.

24

700118551

FRAME

- conveyor

1шт.

25

7700065

CARRIAGE BOLT,Sq Nk, 3/8" - 16 x 3/4", Gr 5

3/8-16 x 3/4 RHSNB

2шт.

26

705038

CONTROL VALVE

3/8"

2шт.

27

HFI146951

BRACKET

- roller spindle

1шт.

28

50377

BALL BEARING,47 mm OD x 13.995, 27.78 mm

- sealed

1шт.

29

6513246

ROLLER

- drive (Includes item 28)

1шт.

30

7770191

CARRIAGE BOLT,Sq Nk, 1/4" - 20 x 1 3/4", Gr 5

1/4-20 x 1-3/4 RHSNB

1шт.

31

700118594

SPACER

1шт.

32

6513196

SUPPORT

- belting

1шт.

33

6513170

BELT,101.60 mm W x 2483.00 mm L

Rear 101.60 mm W x 2483.00 mm L

1шт.

34

6513204

SUPPORT

- belting, rear

1шт.

35

50534

FLANGED BEARING

2шт.

36

700708095

SPHERICAL BEARING

BEARING - spherical

1шт.

37

700118530

SHIELD

1шт.

38

7703499

BOLT,Hex, 5/16" - 18 x 3/4", Gr 5

5/16-18 x 3/4 C

5шт.

39

705525

WASHER

5/16 HARDENED PLAIN WASHER

5шт.

40

231-5145

SERRATED NUT,Flg, USR, 5/16"-18

5/16-18 HFSLN

5шт.

41

62117

PIN

1/8 x 1-1/4 COTTER PIN

1шт.

Выбрано товаров: 41