Запчасти Case IH 8840 (2-04) - CONVEYOR MOUNTING ASSEMBLY- LEFT (58) - ATTACHMENTS/HEADERS

Схема запчастей Case IH 8840 - (2-04) - CONVEYOR MOUNTING ASSEMBLY- LEFT (58) - ATTACHMENTS/HEADERS
4
10
9
3
5
4
7
9
1
6
8
11
2
3
2
5
FIT
1:1
100%

Артикул

Название

Примечание

Количество

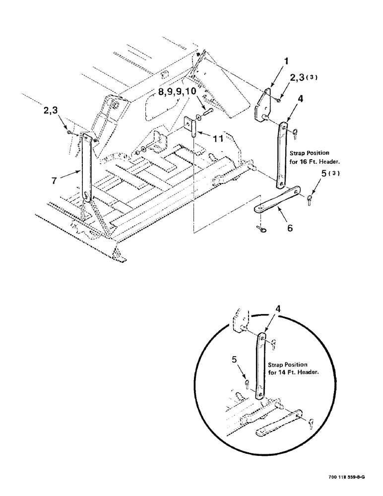
1

700118578

SUPPORT

MOUNTING - pin

1шт.

2

7883382

BOLT,Hex, 3/8" - 16 x 1", Gr 120M

3/8-16 x 1 HWHMS

4шт.

3

704247

NUT

3/8-16 HFSLN

4шт.

4

700118572

STRAP

2шт.

5

762203

PIN

- linch

4шт.

6

700118571

STRAP

1шт.

7

700118529

SUPPORT

- chain

1шт.

8

7701196

BOLT,Hex, 3/4" - 10 x 1 3/4", Gr 5

3/4-10 x 1-3/4 C

1шт.

9

705566

WASHER

3/4 HARDENED PLAIN WASHER

2шт.

10

704528

NUT,3/4"-10, G5

3/4-10 H

1шт.

11

700118575

HINGE

BRACKET - pin

1шт.

Выбрано товаров: 11