Запчасти Case IH 8880 (2-04) - CONVEYOR ROLLER ASSEMBLY (RIGHT) (58) - ATTACHMENTS/HEADERS

Схема запчастей Case IH 8880 - (2-04) - CONVEYOR ROLLER ASSEMBLY (RIGHT) (58) - ATTACHMENTS/HEADERS
4
12
6
4
9
4
8
13
5
10
2
17
13
16
11
4
14
15
7
1
3
FIT
1:1
100%

Артикул

Название

Примечание

Количество

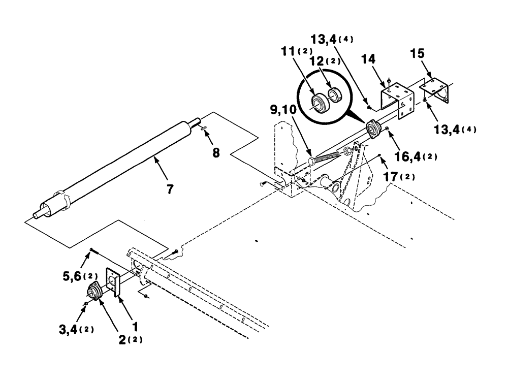
1

700151918

ANGLE

1шт.

2

700719343

BEARING HOUSING,31.75 mm ID x 100 mm OD x 88.9 mm

housed unit (Includes items 11 and 12)

2шт.

3

111-361

CARRIAGE BOLT,Short NK, 3/8"-16 x 1 1/2", G5

2шт.

4

329-286

FLANGE NUT,Flg, 3/8"-16, G8

12шт.

5

113-232

BOLT,Hex, 3/8" - 16 x 2", Gr 5, Full Thd

2шт.

6

425-106

NUT,3/8"-16, Cl 5

2шт.

7

700151807

ROLLER

drive rubber

1шт.

8

Q10

KEY,1/4" Sq x 1 3/8"

1/4 x 1/4 x 1 3/8

1шт.

9

7883242

BOLT

1-8 x 7 FTB

1шт.

10

425-1016

NUT,1"-8, G5

1шт.

11

485259R91

BEARING ASSY,1.2505" ID x 72 mm OD x 1.4844"

spherical

2шт.

12

455104R11

COLLAR

lock

2шт.

13

433-612

CARRIAGE BOLT,Sq Nk, 3/8" - 16 x 3/4", Gr 5

8шт.

14

700151905

CHANNEL

1шт.

15

700151906

SUPPORT

WA motor

1шт.

16

433-620

CARRIAGE BOLT,Sq Nk, 3/8" - 16 x 1 1/4", Gr 5

2шт.

17

219-8

LUBE NIPPLE,1/4" - 28 NPTF

2шт.

Выбрано товаров: 17