Запчасти Case IH 8880 (7-04) - CONVEYOR SHIELDS ASSEMBLY (BACK PANEL) (58) - ATTACHMENTS/HEADERS

Схема запчастей Case IH 8880 - (7-04) - CONVEYOR SHIELDS ASSEMBLY (BACK PANEL) (58) - ATTACHMENTS/HEADERS
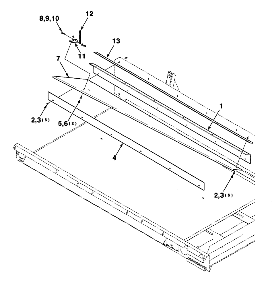
2
2
8
11
5
7
6
9
10
3
12
3
1
4
13
FIT
1:1
100%

Артикул

Название

Примечание

Количество

1

700719437

FLAP

rubber

1шт.

2

434-412

CARRIAGE BOLT,Sht Sq Nk, 1/4" - 20 x 3/4", Gr 5

1/4-20 x 3/4 RHSNB

12шт.

3

231-5144

SERRATED NUT,Flg, USR, 1/4"-20

12шт.

4

700151913

STRAP

1шт.

5

433-512

CARRIAGE BOLT,Sq Nk, 5/16" - 18 x 3/4", Gr 5

2шт.

6

231-5145

SERRATED NUT,Flg, USR, 5/16"-18

2шт.

7

700151908

SHIELD

1шт.

8

121-237

SERRATED BOLT,Hex, 3/8" - 16 x 1 1/4, Spcl

3/8-16 x 1-1/4 HFS GR8

1шт.

9

496-11041

WASHER,13/32" x 13/16" x .065", HDN

plain, hardened 3/8

1шт.

10

232-5316

FLANGE NUT,Flg, 3/8"-16

3/8-16 HFTLN GR/G

1шт.

11

700151873

SUPPORT

chain

1шт.

12

700134773

CHAIN (AG)

1шт.

13

700151914

STRAP

1шт.

Выбрано товаров: 13