Запчасти Case IH 8725 (03-12) - GATHERING CHAIN TENSIONER ASSEMBLY, 30" ROW (09) - CHASSIS

Схема запчастей Case IH 8725 - (03-12) - GATHERING CHAIN TENSIONER ASSEMBLY, 30" ROW (09) - CHASSIS
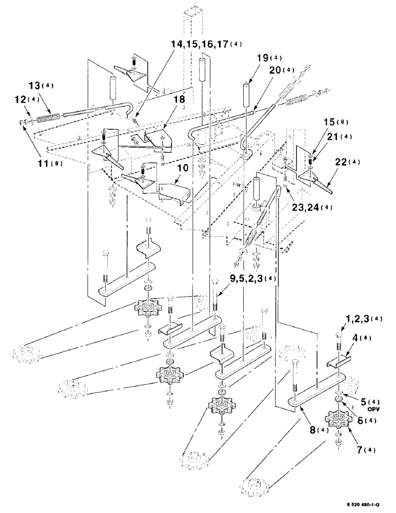
13
3
9
1
15
5
2
3
16
12
19
8
7
4
20
23
15
11
6
5
22
18
17
24
21
2
10
14
FIT
1:1
100%

Артикул

Название

Примечание

Количество

1

413-1048

BOLT,Hex, 5/8" - 11 x 3", Gr 5

4шт.

2

492-11062

BEARING WASHER,5/8"

WASHER, LOCK, 5/8"

8шт.

3

425-1010

NUT,5/8"-11, G5

8шт.

4

6534473

BRACKET

- ratchet

4шт.

5

396-21066

WASHER,16.66mm ID x 33.33mm OD x 4.27mm Thk

- 5/8" bolt size 21/32" x 1 5/16" x .150", HDN

8шт.

6

320184

SPACER

4шт.

7

849844

DRIVE SPROCKET

SPROCKET - idler

4шт.

8

6534549

ARM

- idler

4шт.

9

413-1096

BOLT,Hex, 5/8" - 11 x 6", Gr 5

5/8-11 X 6 C

4шт.

10

6535579

RATCHET

MOUNTING WA - left

1шт.

11

425-108

NUT,1/2" - 13, Gr 5

NUT, , Hex 1/2"-13, G5

8шт.

12

385625

WASHER

4шт.

13

858019

SPRING

- compression

4шт.

14

434-616

CARRIAGE BOLT,Sht Sq Nk, 3/8" - 16 x 1", Gr 5

3/8-16 X 1 RHSNB

4шт.

15

496-11041

WASHER,13/32" x 13/16" x .065", HDN

3/8 HARDENED PLAIN WASHER

12шт.

16

492-11038

LOCK WASHER,3/8"

WASHER, LOCK, 3/8"

4шт.

17

425-106

NUT,3/8"-16, Cl 5

4шт.

18

6535595

RATCHET

MOUNTING WA - right

1шт.

19

6534564

SPACER

4шт.

20

6534556

ROD

- spring

4шт.

21

58511

COMPRESSION SPRING

SPRING - compression

4шт.

22

6534432

RATCHET

WA

4шт.

23

413-636

BOLT,Hex, 3/8" - 16 x 2-1/4", Gr 5

4шт.

24

230-4216

LOCK NUT,3/8"-16, GA

3/8-16 HCLN

4шт.

Выбрано товаров: 24