Запчасти Case IH 8790 (082) - CAB, CONTROL CONSOLE (90) - PLATFORM, CAB, BODYWORK AND DECALS

Схема запчастей Case IH 8790 - (082) - CAB, CONTROL CONSOLE (90) - PLATFORM, CAB, BODYWORK AND DECALS
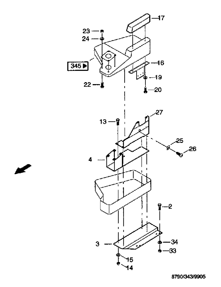
34
2
3
33
27
25
14
24
26
15
16
13
17
20
19
4
22
23
FIT
1:1
100%

Артикул

Название

Примечание

Количество

2

614-8020

BOLT,Hex, M8 x 1.25 x 20mm

4шт.

3

32505501

CARRIER

SUPPORT

1шт.

4

32504687

SUPPORT

lever holder

1шт.

13

06334445

CAPSCREW

BOLT hexagon head, M6 x 20/8.8-A3C ISO4017

4шт.

14

825-1406

NUT,M6, Cl 8

4шт.

15

895-11006

WASHER,6.6mm ID x 12mm OD x 1.6mm Thk

4шт.

16

32504767

PLATE

1шт.

17

05810184

SUPPORT

Armrest

1шт.

19

895-11008

WASHER,9mm ID x 16mm OD x 1.6mm Thk

2шт.

20

614-8020

BOLT,Hex, M8 x 1.25 x 20mm

2шт.

22

614-6016

BOLT,Hex, M6 x 1 x 16mm, Cl 8.8, Full Thd

4шт.

23

825-1406

NUT,M6, Cl 8

4шт.

24

895-11006

WASHER,6.6mm ID x 12mm OD x 1.6mm Thk

4шт.

25

05810280

NUT

ST4.2-ZN

6шт.

26

03020302

SCREW,M10 x 30mm

self-tapping, ST4.2 x 13-F-H DIN7981 A3R(SC

6шт.

27

32506205

REINFORCEMENT

1шт.

33

825-1408

NUT,M8, Cl 8

4шт.

34

895-11008

WASHER,9mm ID x 16mm OD x 1.6mm Thk

4шт.

Выбрано товаров: 18