Запчасти Case IH 600 (9-28) - AUGER DRIVE YOKES AND SHAFT, 56 BLOWER AUGER YOKES & SHAFT (09) - CHASSIS/ATTACHMENTS

Схема запчастей Case IH 600 - (9-28) - AUGER DRIVE YOKES AND SHAFT, 56 BLOWER AUGER YOKES & SHAFT (09) - CHASSIS/ATTACHMENTS
6
3
4
9
8
2
1
5
10
7
FIT
1:1
100%

Артикул

Название

Примечание

Количество

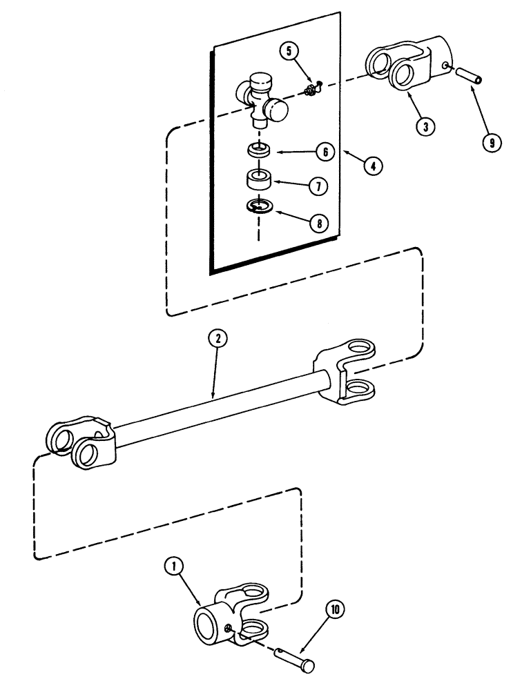
483501R91

JOINT

- universal

1шт.

1

483604R1

YOKE

- with 3/8 inch hole for pin

1шт.

2

NSS

NOT SOLD SEPARAT

SHAFT - with yokes, no longer available, order 483501R91 joint

1шт.

3

559928R1

YOKE

- has 21/64 inch hole for pin

1шт.

4

150635R92

SPIDER

KIT - cross and bearing

2шт.

5

219-40

LUBE NIPPLE,65 Degree Elbow, 1/8" - 27 NPTF

FITTING - grease, 65 degree, 1/8 PT x 7/8 inch

1шт.

6

357425R1

CORK SEAL

- oil, cork

8шт.

7

NSS

NOT SOLD SEPARAT

BEARING - needle, no longer available, order 150635R92 kit

8шт.

8

357426R1

RING

- retaining

8шт.

9

439-5532

HEADED PIN,5/16" x 2"

PIN - headed, 5/16 x 2 inch

1шт.

432-812

COTTER PIN,3/4" OAL x 1/8" W

PIN, SPLIT (COTTER), , Used with 559928R1 yoke, not part of universal assembly 1/8" x 3/4"

1шт.

10

438-12428

LOCK PIN,3/8" x 1 3/4", Slotted

Pin, , used with 483501R91 joint, not part of universal assembly 3/8" x 1 3/4", Slotted

1шт.

Выбрано товаров: 0