Запчасти Case IH 600 (9-08) - ROTOR AND DRIVE, 56 BLOWER (09) - CHASSIS/ATTACHMENTS

Схема запчастей Case IH 600 - (9-08) - ROTOR AND DRIVE, 56 BLOWER (09) - CHASSIS/ATTACHMENTS
9
4
16
7
10
14
5
13
8
12
11
14
11
12
5
1
2
1
15
13
6
3
FIT
1:1
100%

Артикул

Название

Примечание

Количество

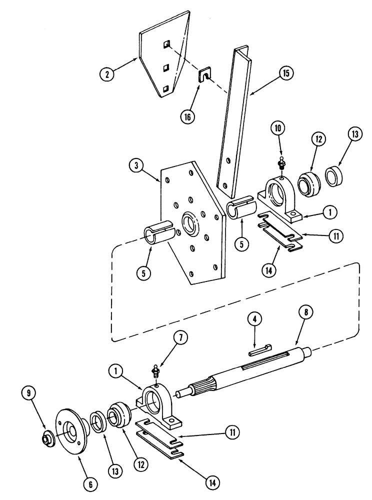
1

483349R91

HOUSING ASSY.

BEARING - pillow block

2шт.

413-832

BOLT,Hex, 1/2" - 13 x 2", Gr 5

4шт.

496-21053

WASHER,17/32" x 1 1/16" x .134"

- flat, 17/32 x 1-1/16 x 1/8 inch, hardened

4шт.

231-5148

FLANGE NUT,Flg, USR, 1/2"-13

4шт.

2

483335R2

HALF BLADE

BLADE - rotor

6шт.

3

483331R91

HUB

- rotor

1шт.

414-1236

BOLT,Hex, 3/4" - 16 x 2-1/4", Gr 5

- hex, 3/4 NF x 2-1/4 inch

12шт.

131-225

LOCK NUT,3/4"-16

NUT - hex, self-locking, 3/4 inch NF

12шт.

4

Q3974

KEY,Gib, 1/2" Sq x 3 3/4"

- square tapered, 1/2 x 3-3/4 inch

1шт.

5

483337R1

SPACER

- rotor

2шт.

495-81088

WASHER,1.66" ID x 2.25" OD x 0.06" Thk

- flat, 1-21/32 x 2-1/4 x 3/64 inch

6шт.

6

483341R1

HUB

- shear bolt

1шт.

413-528

BOLT,Hex, 5/16" - 18 x 1-3/4", Gr 5

- hex, 5/16 NC x 1-3/4 inch

2шт.

425-105

NUT,5/16"-18, G5

- hex, 5/16 inch NC

4шт.

7

219-55

LUBE NIPPLE,90 Degree Elbow, 1/8" - 27 NPTF

NIPPLE, LUBE, , Front 90º, 1/8" NPT x .84" lg

1шт.

8

483338R1

SHAFT

- rotor

1шт.

495-81069

WASHER,1-1/32" ID x 1-1/2" OD x 3/50" Thk

- flat, 1-1/32 x 1-1/2 x 1/16 inch

1шт.

23670R1

PIN,6.35mm OD x 34.92mm L, Coiled

1шт.

9

483342R1

WASHER

- flat, 1-1/32 x 2 x 1/4 inch, prior to S/N 12305 and all machines with optional heavy duty implement input drives

1шт.

10

219-31

LUBE NIPPLE,30 Degree Elbow, 1/8" - 27 NPTF

FITTING - grease, 30 degree, 1/8 PT x 29/32 inch, rear

1шт.

11

483340R2

STRIP

- rotor bearing, 0.012 inch

1шт.

12

483350R91

BALL BEARING,41.27mm ID x 85mm OD x 22mm W

BEARING - rotor, without collar

2шт.

13

557119R11

COLLAR

COLLAR - bearing lock, with set screw

2шт.

14

483339R2

BAR

STRIP - rotor bearing, .060 inch

1шт.

15

483336R2

ANGLE

- rotor

6шт.

434-824

CARRIAGE BOLT,Sht Sq Nk, 1/2" - 13 x 1 1/2", Gr 5

BOLT - carriage, 1/2 NC x 1-1/2 inch

18шт.

231-1448

NUT,1/2"-13, GB

- hex, self-locking, 1/2 inch NC

18шт.

16

486453R1

SHIM

- 0.010 inch thick, blade

1шт.

16

486454R1

SHIM

- 0.030 inch thick, blade

1шт.

Выбрано товаров: 29