Запчасти Case IH 110 (D-22) - FLASHING WARNING LIGHT ATT.

Схема запчастей Case IH 110 - (D-22) - FLASHING WARNING LIGHT ATT.
FIT
1:1
100%

Артикул

Название

Примечание

Количество

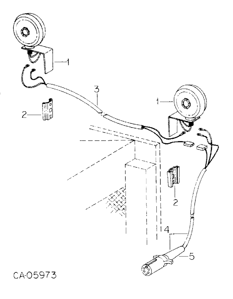
1

121664C1

LIGHT

ASSY, 12 volt, only serviceable item is lamp bulb, 20010R1

2шт.

2

398976R1

BRACKET

SOCKET, warning light mtg

2шт.

16888R1

HARDWARE,Short NK, 5/16"-18 x 1 1/4", G2

BOLT, 5/16 x 1-1/4 crg type 1

4шт.

446363

WASHER,5/16"

.375 x .875 x .064

4шт.

120376

NUT,5/16"-18, G5

4шт.

3

121663C1

HARNESS

ASSY, warning light junc.

1шт.

384557R1

CLIP

cable harness

5шт.

102291

BOLT

1/4 x 1-1/4 plain lag

5шт.

289862C1

CABLE TIE,3/16" x 7"

STRAP, lock

5шт.

4

121662C1

HARNESS

ASSY, rear connector

1шт.

5

121646C1

TERMINAL CONNECTOR,Female

PLUG, 7-contact w/cable guard, furnish as part of 121662C1

1шт.

9426333

FUSE,15 Amp, Type 3AG

AG-13 15 amp

1шт.

200549C2

CLAMP

STRAP, tie

2шт.

358986R1

CABLE CLIP

CLIP, cable harness

9шт.

384559R1

CLIP

cable harness

2шт.

Выбрано товаров: 15