Запчасти Case IH AFS (02-38) - HARNESS - YIELD MONITOR CAB DISPLAY - INTERIOR (2100 & 2300 WITH 1999 MONITOR SYSTEM) (55) - ELECTRICAL SYSTEMS

Схема запчастей Case IH AFS - (02-38) - HARNESS - YIELD MONITOR CAB DISPLAY - INTERIOR (2100 & 2300 WITH 1999 MONITOR SYSTEM) (55) - ELECTRICAL SYSTEMS
2
6
1
3
4
4
5
3
8
7
FIT
1:1
100%

Артикул

Название

Примечание

Количество

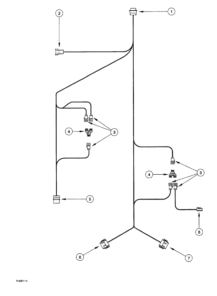
318568A1

HARNESS

yield monitor cab display, Includes Ref: 1-8

1шт.

1

321698A1

ELEC CONNECTOR,Female, 14 Pin

electrical

1шт.

2

225320C1

ELEC CONNECTOR

electrical

1шт.

3

298496A1

ELEC CONNECTOR,4 Pin

plug, 4 Pin

6шт.

4

298495A1

ELEC CONNECTOR,4 Pin

electrical

2шт.

5

310057A1

ELEC CONNECTOR,Male, 9 Pin

HD 10 series Receptacle

1шт.

6

223679A1

MULTIPOLE CONNECTOR,Female, 12 Pin

12-way DTM plug, black

1шт.

7

223671A1

CONTACT HOUSING,Female, 12 Pin

12-way DTM plug, gray

1шт.

8

239451A1

MULTIPOLE CONNECTOR,Female, 4 Pin

4-cav plug DT series

1шт.

Выбрано товаров: 0