Запчасти Case IH AFS (02-39) - HARNESS - YIELD MONITOR CAB DISPLAY (2100 & 2300 WITH 2000 MONITOR SYSTEM) (55) - ELECTRICAL SYSTEMS

Схема запчастей Case IH AFS - (02-39) - HARNESS - YIELD MONITOR CAB DISPLAY (2100 & 2300 WITH 2000 MONITOR SYSTEM) (55) - ELECTRICAL SYSTEMS
1
8
7
13
11
3
4
6
4
9
10
4
3
3
2
3
3
12
5
14
3
FIT
1:1
100%

Артикул

Название

Примечание

Количество

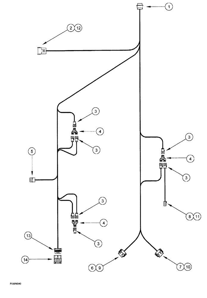
365512A1

WIRE HARNESS

yield monitor cab display, Includes Ref: 1-14

1шт.

1

321698A1

ELEC CONNECTOR,Female, 14 Pin

electrical

1шт.

2

225388C1

ELEC CONNECTOR,Male, 12 Pin

electrical, type NA

1шт.

3

298496A1

ELEC CONNECTOR,4 Pin

plug, 4 Pin

9шт.

4

298495A1

ELEC CONNECTOR,4 Pin

electrical

3шт.

5

310057A1

ELEC CONNECTOR,Male, 9 Pin

HD 10 series Receptacle

1шт.

6

223679A1

MULTIPOLE CONNECTOR,Female, 12 Pin

12-way DTM plug, black

1шт.

7

223671A1

CONTACT HOUSING,Female, 12 Pin

12-way DTM plug, gray

1шт.

8

239451A1

MULTIPOLE CONNECTOR,Female, 4 Pin

4-cav plug DT series

1шт.

9

223674A1

WEDGE

electrical connector

1шт.

10

223674A1

WEDGE

electrical connector

1шт.

11

225327C1

WEDGE,Lock, Black

WEDGE electrical

1шт.

12

225390C1

WEDGE

electrical connector, type W12P

1шт.

13

182081A1

TERMINAL CONNECTOR,Female, 5 Pin

tower 5-way metri-pak

1шт.

14

182079A1

TERMINAL CONNECTOR,Male, 5 Pin

electrical

1шт.

Выбрано товаров: 0