Качественные детали и логистика
Оригинальные и аналоговые запчасти с доставкой по России, Казахстану и Беларуси
©2022 PartSell ООО "Система" ИНН 2463123282 ОГРН 1212400004838
Центральный офис: г. Красноярск, Академика Киренского, д.87, пом.4
Телефон: 8 (800) 777-65-74 Email: zakaz@partsell.ru
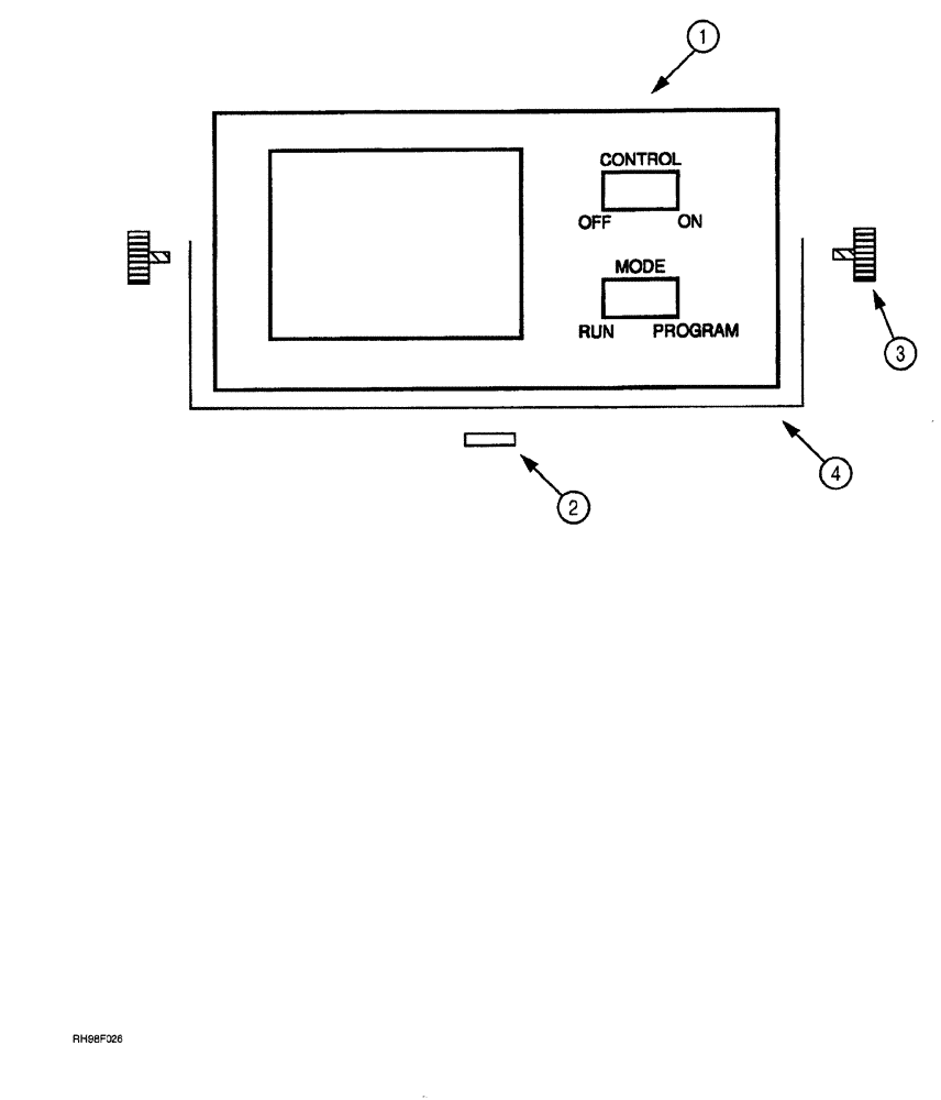
(04-04) - SINGLE CHANNEL VARIABLE RATE CONTROL MONITOR (PRIOR TO MODEL YEAR 1999)
№
Артикул
Название
Примечание
Количество
1
226736A2
BOARD, PRINTED CIRCU
IT MONITOR single channel
1шт.
2
233120A1
NUT
special
2шт.
3
1261524C91
REPAIR KIT
knob, bracket, package of 2
4
240887A1
BRACKET
monitor mounting
5
246611A1
monitor mounting, double, VRC, Not Shown
Выбрано товаров: 0